Запчасти Case CX135SR (08-104) - CYLINDER ASSY, BOOM, LEFT HAND - MODELS WITH LOAD HOLD (08) - HYDRAULICS

Схема запчастей Case CX135SR - (08-104) - CYLINDER ASSY, BOOM, LEFT HAND - MODELS WITH LOAD HOLD (08) - HYDRAULICS
10
42
16
29
38
44
1
12
32
17
37
39
6
9
2
35
42
26
45
5
43
30
23
2
18
4
34
27
24
28
25
29
33
40
15
5
37
19
8
22
36
13
39
31
3
20
38
41
21
11
3
14
6
FIT
1:1
100%

Артикул

Название

Примечание

Количество

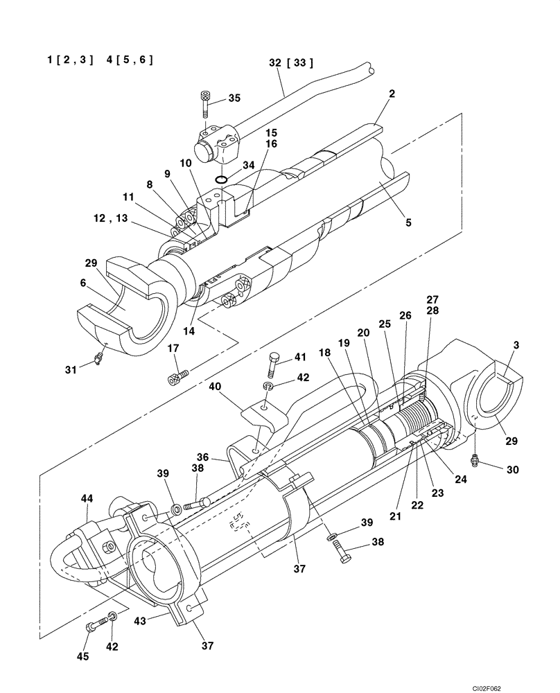
KMV2547

HYDRAULIC CYLINDER

Incl. 1 - 45

1шт.

1

LR00943

HYD CYL SLEEVE

Incl. 2, 3

1шт.

2

NSS

NOT SOLD SEPARAT

Tube, Cylinder

1шт.

3

LKU0044

BUSHING

1шт.

4

LB00822

PISTON ROD

Incl. 5, 6

1шт.

5

NSS

NOT SOLD SEPARAT

Rod, Piston

1шт.

6

155413A1

BUSHING

1шт.

8

LU00126

CYLINDER END CAP

1шт.

9

160843A1

BUSHING

1шт.

10

160870A1

BACK-UP RING

1шт.

11

LE00880

RING

1шт.

12

160781A1

RING,75mm ID x 90mm OD x 9mm Thk

1шт.

13

160808A1

BACK-UP RING

1шт.

14

160783A1

WIPER SEAL

1шт.

15

154721A1

O-RING,99.4mm ID x 3.1mm Width

1шт.

16

161880A1

BACK-UP RING

1шт.

17

108R014Z065R

BOLT

12шт.

18

LE01010

BACK-UP RING

1шт.

19

LE00881

RING

1шт.

20

161911A1

PISTON

1шт.

21

155330A1

SEALING RING

1шт.

22

161881A1

BACK-UP RING

2шт.

23

LE00725

RING

2шт.

24

161883A1

BACK-UP RING

2шт.

25

LH00036

COMPRESSION SPRING

1шт.

26

LA00773

SPECIAL NUT

1шт.

27

156223A1

SET SCREW

1шт.

28

155977A1

BALL

1шт.

29

164446A1

WIPER SEAL

4шт.

30

153630A1

LUBE NIPPLE

1шт.

31

153631A1

LUBE NIPPLE,1/8"-27 NPT

1шт.

32

LR012140

HYD TUBE

; Replaces LR00713, Incl. 33

1шт.

33

154487A1

O-RING

2шт.

34

154499A1

O-RING

1шт.

35

861-8025

HEX SOC SCREW,M8 x 25mm, Cl 12.9

; Replaces 164502A1

4шт.

36

LD00070

CLAMP BRACKET

1шт.

37

LZU0095

CLAMP BRACKET

1шт.

38

158131A1

BOLT,High Strength, M10 x 1.5 x 35mm, Cl 10.9

2шт.

39

156227A1

WASHER

2шт.

40

160874A1

CLAMP

1шт.

41

827-12050

BOLT,Hex, M12 x 1.75 x 50mm, Cl 10.9

Replaces LA00563

1шт.

42

892-10012

LOCK WASHER,M12

1шт.

43

LD00073

CLAMP BRACKET

1шт.

44

160871A1

HALF-FLANGE

2шт.

45

LA00683

BOLT,Hex

1шт.

LZ00453

SEAL KIT

Incl. 11 - 16, 19, 21 - 25

1шт.

Выбрано товаров: 46