Запчасти Case CX135SR (08-109) - CYLINDER ASSY - BUCKET (08) - HYDRAULICS

Схема запчастей Case CX135SR - (08-109) - CYLINDER ASSY - BUCKET (08) - HYDRAULICS
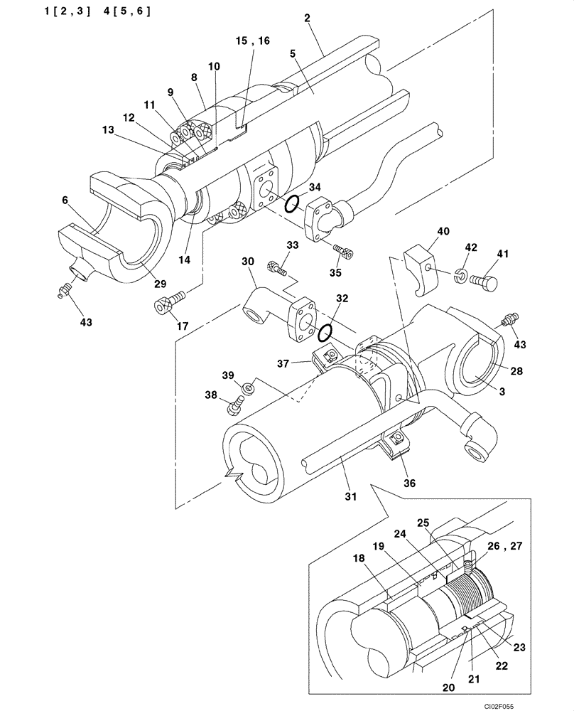
38
10
33
13
11
20
16
27
14
37
29
9
40
6
15
28
35
43
5
19
18
2
32
43
31
17
34
8
21
39
24
30
42
22
23
36
25
3
26
12
41
FIT
1:1
100%

Артикул

Название

Примечание

Количество

KMV2545

BUCKET CYLINDER

Incl. 1 - 43

1шт.

KMV2545R

REMAN-HYD CYLINDER

CX135SR CRAWLER EXCAVATOR (NORTH AMERICA), BUCKET (8/02-)

1шт.

KMV2545C

CORE-HYD CYLINDER

Return Number

1шт.

1

LR00614

HYD CYL SLEEVE

Incl. 2, 3

1шт.

2

NSS

NOT SOLD SEPARAT

Tube, Cylinder

1шт.

3

155400A1

BUSHING

1шт.

4

LB00640

PISTON ROD

Incl. 5, 6

1шт.

5

NSS

NOT SOLD SEPARAT

Rod, Piston

1шт.

6

155413A1

BUSHING

1шт.

8

LU00080

CYLINDER END CAP

1шт.

9

LB00512

BUSHING

1шт.

10

155698A1

RING, SNAP

RING SNAP

1шт.

11

LE00858

RING

1шт.

12

155129A1

RING

1шт.

13

155230A1

BACK-UP RING

1шт.

14

LE00422

SEAL

1шт.

15

154705A1

O-RING

1шт.

16

160810A1

BACK-UP RING

1шт.

17

861-14055

HEX SOC SCREW,M14 x 55mm, Cl 12.9

10шт.

18

LE00735

RING

1шт.

19

160944A1

PISTON

1шт.

20

160825A1

SEALING RING

SEALRING

1шт.

21

160814A1

BACK-UP RING

2шт.

22

LE00736

RING

2шт.

23

160829A1

RING

2шт.

24

155720A1

SHIM

1шт.

25

LA00775

SPECIAL NUT

1шт.

26

156222A1

SCREW

1шт.

27

155976A1

BALL

1шт.

28

164445A1

RING

Replaces LE00737

2шт.

29

164446A1

WIPER SEAL

2шт.

30

LK00344

COUPLING FLANGE

1шт.

31

LR00728

TUBE

1шт.

32

154528A1

O-RING

1шт.

33

861-10030

HEX SOC SCREW,M10 x 30mm, Cl 12.9

4шт.

34

154499A1

O-RING

1шт.

35

861-8025

HEX SOC SCREW,M8 x 25mm, Cl 12.9

4шт.

36

LD00037

CLAMP BRACKET

1шт.

37

LD00038

CLAMP BRACKET

1шт.

38

158131A1

BOLT,High Strength, M10 x 1.5 x 35mm, Cl 10.9

2шт.

39

156227A1

WASHER

2шт.

40

160874A1

CLAMP

1шт.

41

827-12050

BOLT,Hex, M12 x 1.75 x 50mm, Cl 10.9

Replaces LA00563

1шт.

42

892-10012

LOCK WASHER,M12

1шт.

43

153630A1

LUBE NIPPLE

2шт.

LZ00450

SEAL KIT

Incl. 11 - 16, 20 - 23

1шт.

Выбрано товаров: 46