Запчасти Case CX135SR (09-17) - CONTROL, PEDAL, OPTIONAL - OPERATORS COMPARTMENT (09) - CHASSIS/ATTACHMENTS

Схема запчастей Case CX135SR - (09-17) - CONTROL, PEDAL, OPTIONAL - OPERATORS COMPARTMENT (09) - CHASSIS/ATTACHMENTS
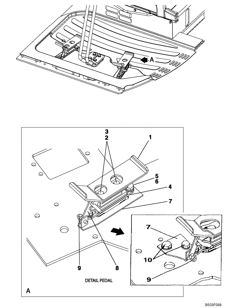
3
7
6
5
7
4
2
9
1
8
9
10
FIT
1:1
100%

Артикул

Название

Примечание

Количество

1

KHJ2229

PEDAL

1шт.

2

162571A1

BOLT,High Strength, M8 x 16mm

2шт.

3

159500A1

WASHER

2шт.

4

KHJ1995

CONTROL BLOCK

See Figure 08-098

1шт.

5

150548A1

BOLT,High Strength, Hex, M10 x 20mm

M10 x 20; 10,9

2шт.

6

150604A1

WASHER

2шт.

7

KHJ2568

BRACKET

Replaces KHJ2230

1шт.

8

KHJ2231

LEVER

1шт.

9

157770A1

NUT

2шт.

10

166346A1

BOLT,Sems, M10

2шт.

Выбрано товаров: 0