Запчасти Case CX135SR (09-46) - ARM CYLINDER MOUNTING - 2,85 M (9 FT 4 IN) (09) - CHASSIS/ATTACHMENTS

Схема запчастей Case CX135SR - (09-46) - ARM CYLINDER MOUNTING - 2,85 M (9 FT 4 IN) (09) - CHASSIS/ATTACHMENTS
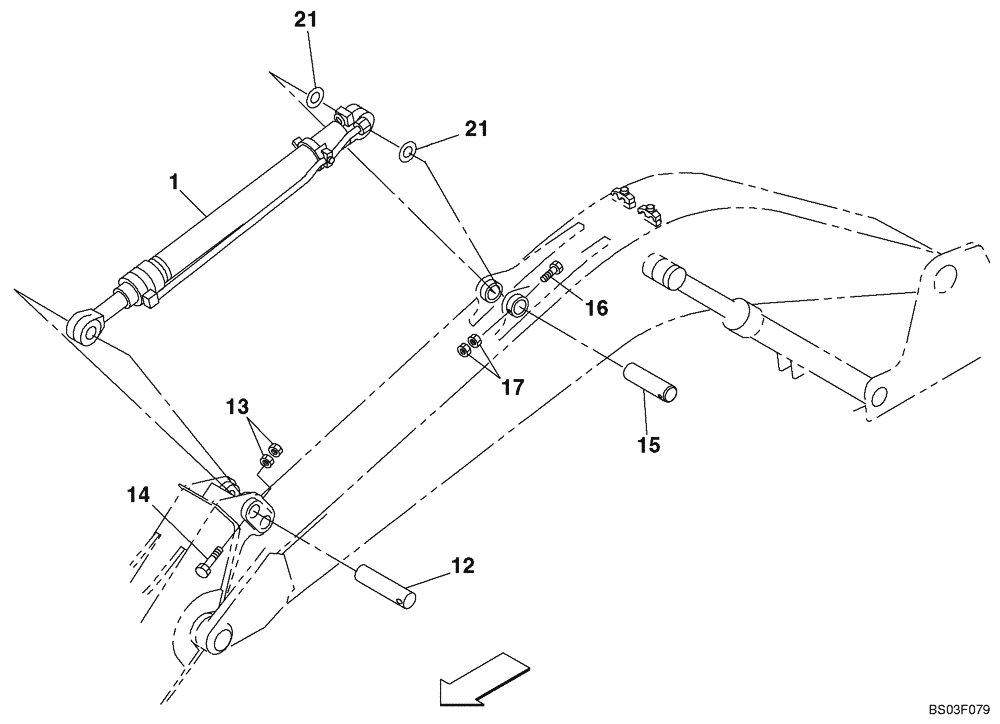
21
17
16
12
14
21
1
15
13
FIT
1:1
100%

Артикул

Название

Примечание

Количество

1

KNV1617

HYDRAULIC CYLINDER

Arm, Models Without Load Hold; See Figure 08-106

1шт.

1

KNV1617R

REMAN-HYD CYLINDER

CX135SR CRAWLER EXCAVATOR (NORTH AMERICA), Arm, Models Without Load Hold (8/02-)

1шт.

1

KNV1617C

CORE-HYD CYLINDER

Return Number

1шт.

1

KMV2548

HYDRAULIC CYLINDER

Arm, Models With Load Hold; See Figure 08-107

1шт.

12

KNV1598

HITCH PIN

1шт.

13

829-13416

NUT,M16 x 1.5, Cl 10

2шт.

14

514-1112

BOLT,Hex, M16 x 1.5 x 140mm, Cl 10.9

1шт.

15

150101A1

PIN

1шт.

16

514-1112

BOLT,Hex, M16 x 1.5 x 140mm, Cl 10.9

1шт.

13

829-13416

NUT,M16 x 1.5, Cl 10

2шт.

21

160735A1

ADJUSTING PLATE

1шт.

Выбрано товаров: 11