Качественные детали и логистика
Оригинальные и аналоговые запчасти с доставкой по России, Казахстану и Беларуси
©2022 PartSell ООО "Система" ИНН 2463123282 ОГРН 1212400004838
Центральный офис: г. Красноярск, Академика Киренского, д.87, пом.4
Телефон: 8 (800) 777-65-74 Email: zakaz@partsell.ru
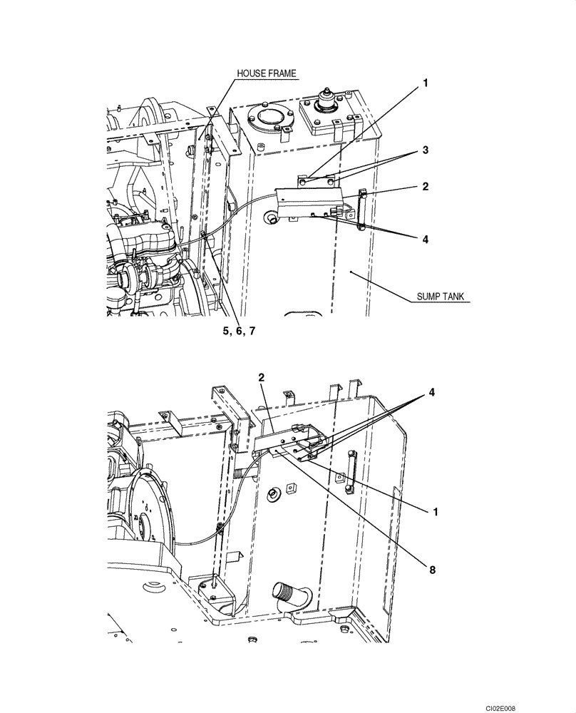
(03-10) - GOVERNOR CONTROL - ENGINE SHUTOFF
№
Артикул
Название
Примечание
Количество
1
KMH0824
BRACKET
1шт.
2
KMH0823
COVER
3
166351A1
BOLT,Sems, M10 x 20mm
2шт.
4
159602A1
BOLT,Sems, Hex, M6 x 16mm
5шт.
5
150860A1
COLLAR
6
840-168
SCREW,Pan, M6 x 1 x 8mm, Cl 4.8
7
150067A1
MOUNTING CLIP
8
289392A1
THROTTLE
Выбрано товаров: 0