Запчасти Case CX135SR (04-01) - HARNESS, MAIN - CHASSIS, UPPERSTRUCTURE (04) - ELECTRICAL SYSTEMS

Схема запчастей Case CX135SR - (04-01) - HARNESS, MAIN - CHASSIS, UPPERSTRUCTURE (04) - ELECTRICAL SYSTEMS
37
17
22
13
65
85
20
17
26
25
64
68
18
14
27
31
28
34
21
27
33
32
19
30
85
22a
31
15
25
67
23
25
24
66
FIT
1:1
100%

Артикул

Название

Примечание

Количество

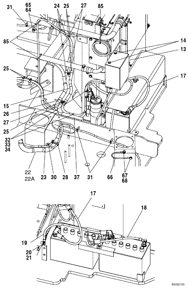
13

KMR0875

COVER

1шт.

14

166345A1

BOLT

2шт.

15

KMR0869

ELECTRIC CABLE

1шт.

17

KHR3058

ELECTRIC CABLE

Battery

1шт.

18

KMR0868

ELECTRIC CABLE

Battery

1шт.

19

KMR0884

ELECTRIC CABLE

Ground

1шт.

20

167320A1

BOLT,Spcl, M8 x 20mm

1шт.

21

893-11008

LOCK WASHER,Ext Tooth, M8

1шт.

22

KMR0928

WIRE HARNESS

PIN DAC0812490 and Prior, Replaces KMR0845, KMR0921

1шт.

22

KMR0990

WIRE HARNESS

PIN DAC0812491 and After

1шт.

22a

KMR0926

HARNESS

Replaces KMR0845

1шт.

23

KMR10180

WIRE HARNESS

Replaces KMR0912

1шт.

24

157806A1

COLLAR

2шт.

25

156462A1

COLLAR

5шт.

26

159024A1

COLLAR

1шт.

27

159602A1

BOLT,Sems, Hex, M6 x 16mm

3шт.

28

KHR2580

CLAMP

1шт.

30

159905A1

BOLT,Sems, Hex, M6 x 25mm, Spcl

1шт.

31

KHR2787

CLAMP

3шт.

32

150860A1

COLLAR

2шт.

33

840-168

SCREW,Pan, M6 x 1 x 8mm, Cl 4.8

2шт.

34

150496A1

MOUNTING CLIP

2шт.

37

KMR0895

SEAL

1шт.

64

167320A1

BOLT,Spcl, M8 x 20mm

1шт.

65

893-11008

LOCK WASHER,Ext Tooth, M8

1шт.

66

KAR0564

WIRE HARNESS

1шт.

67

166345A1

BOLT

2шт.

68

893-11008

LOCK WASHER,Ext Tooth, M8

2шт.

85

150496A1

MOUNTING CLIP

1шт.

Выбрано товаров: 29