Запчасти Case CX135SR (04-14) - ALTERNATOR ASSY (04) - ELECTRICAL SYSTEMS

Схема запчастей Case CX135SR - (04-14) - ALTERNATOR ASSY (04) - ELECTRICAL SYSTEMS
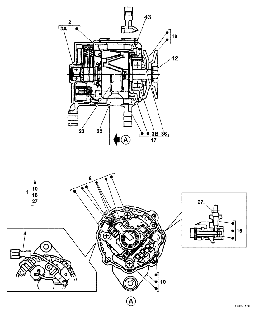
16
27
42
27
3a
1
10
6
22
6
4
3b
10
43
16
19
2
36
23
17
FIT
1:1
100%

Артикул

Название

Примечание

Количество

87405690

ALTERNATOR

Incl. 1 - 127

1шт.

1

87405693

COVER ASSY

Incl. 6, 10, 16, 27

1шт.

2

426801A1

ROTOR

Incl. 3A

1шт.

3a

426802A1

BALL BEARING

1шт.

3b

426803A1

BALL BEARING

1шт.

4

87405694

BRUSH SET

1шт.

6

426804A1

REGULATOR

1шт.

10

426805A1

RECTIFIER

1шт.

16

426806A1

TENSIONER

1шт.

17

426807A1

COVER

Incl. 3B, 36

1шт.

19

426808A1

PULLEY

1шт.

22

426809A1

STATOR

1шт.

23

426810A1

COIL

1шт.

27

426811A1

NUT

1шт.

36

426812A1

SCREW

1шт.

37

426813A1

SCREW

Not Illustrated

1шт.

38

438012A1

SCREW

Not Illustrated

1шт.

39

438013A1

SCREW

Not Illustrated

1шт.

40

438014A1

CLAMP

Not Illustrated

1шт.

41

87405695

CLIP

Not Illustrated

1шт.

42

426814A1

NUT

1шт.

43

87405696

BOLT

1шт.

Выбрано товаров: 22