Запчасти Case CX135SR (08-11) - HYDRAULICS - RETURN & OIL COOLER LINE (08) - HYDRAULICS

Схема запчастей Case CX135SR - (08-11) - HYDRAULICS - RETURN & OIL COOLER LINE (08) - HYDRAULICS
17
13
20
2
9
9
23
7
12
10
10
16
20
25
18
25
6
4
3
19
21
17
24
22
8
1
14
11
22
16
2
23
5
FIT
1:1
100%

Артикул

Название

Примечание

Количество

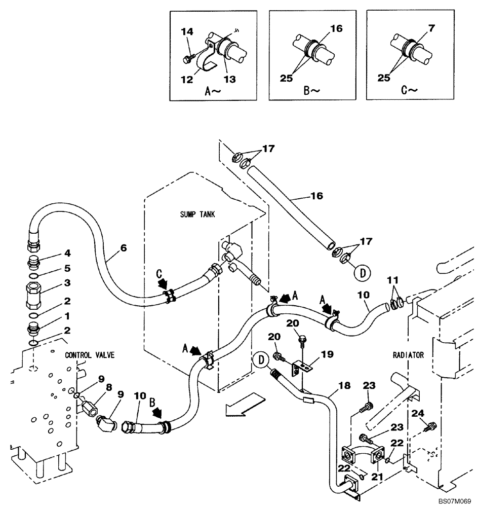
1

KHJ1963

NIPPLE, LUBE

NIPPLE

1шт.

2

154559A1

O-RING

1шт.

3

KRJ1776

VALVE, CHECK

1шт.

4

157588A1

ELBOW

Replaces 159047A1

1шт.

5

154559A1

O-RING

1шт.

6

KHJ19570

HYDRAULIC HOSE

Replaces KMJ11630

1шт.

7

KHJ2024

COLLAR

1шт.

8

KHJ18370

SOCKET

SOCKET

1шт.

9

161496A1

ELBOW

1шт.

10

KMJ11640

HOSE ASSY.

1шт.

11

150885A1

COLLAR

2шт.

12

KHJ17240

HOSE CLAMP

CLAMP

3шт.

13

KHJ2024

COLLAR

3шт.

14

166052A1

BOLT

M10X25

3шт.

15

KHJ2024

COLLAR

1шт.

16

KNJ2169

HOSE

HOSE

1шт.

17

150885A1

COLLAR

4шт.

18

KMJ11610

HYD TUBE

TUBE ASSY.

1шт.

19

KMJ11620

BRACKET

BRACKET

1шт.

20

166052A1

BOLT

M10X25

4шт.

21

KMJ12020

HYD TUBE

TUBE ASSY.

1шт.

22

154549A1

O-RING

2шт.

23

862-8030

HEX SOC SCREW,M8 x 30mm, Cl 12.9

4шт.

24

166052A1

BOLT

M10X25

1шт.

25

150496A1

MOUNTING CLIP

4шт.

Выбрано товаров: 0