Запчасти Case CX135SR (08-124[05]) - CONTROL VALVE - MONOBLOCK BOOM, OFFSET BACKHOE BOOM - WITH DOZER BLADE (08) - HYDRAULICS

Схема запчастей Case CX135SR - (08-124[05]) - CONTROL VALVE - MONOBLOCK BOOM, OFFSET BACKHOE BOOM - WITH DOZER BLADE (08) - HYDRAULICS
26
94
19
56
16
25
57
94
63
57
59
37
34
58
26
36
36
25
58
16
34
18
60
32
61
56
19
17
24
19
56
38
94
32
16
94
37
18
24
33
17
18
64
35
38
56
65
17
33
35
62
FIT
1:1
100%

Артикул

Название

Примечание

Количество

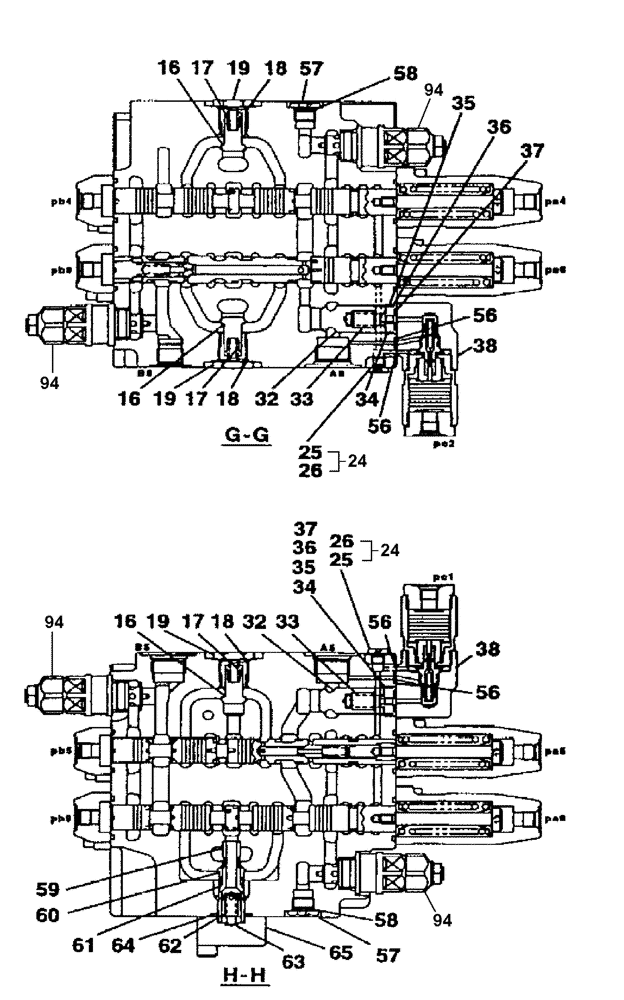
16

LJ00997

POPPET

3шт.

17

156026A1

SPRING

3шт.

18

155222A1

O-RING

3шт.

19

155464A1

PLUG

3шт.

24

163368A1

PLUG

Include(s) 25, 26

2шт.

25

NSS

NOT SOLD SEPARAT

Plug

1шт.

26

154455A1

O-RING

1шт.

32

LJ01000

POPPET

2шт.

33

LJ01001

SPRING

2шт.

34

LH00327

SPACER

Include(s) 35 - 37

2шт.

35

154498A1

O-RING

1шт.

36

153979A1

BACK-UP RING

1шт.

37

154471A1

O-RING

1шт.

38

LJ01002

VALVE

See Figure(s) 08-124 06

2шт.

56

154447A1

O-RING

4шт.

57

163369A1

PLUG

Include(s) 58

2шт.

58

154475A1

O-RING

1шт.

59

LH00328

SLEEVE

1шт.

60

LJ01003

POPPET

1шт.

61

LG00446

COMPRESSION SPRING

1шт.

62

LJ01004

POPPET

1шт.

63

LG00447

COMPRESSION SPRING

1шт.

64

154517A1

O-RING

1шт.

65

LH00329

FLANGE

1шт.

94

KMJ2914

VALVE PRESSURE RELIE

See Figure(s) 08-124 06

4шт.

Выбрано товаров: 25