Запчасти Case CX135SR (08-21) - KMJ10660 VALVE ASSY, CONTROL - MODELS WITHOUT DOZER BLADE (08) - HYDRAULICS

Схема запчастей Case CX135SR - (08-21) - KMJ10660 VALVE ASSY, CONTROL - MODELS WITHOUT DOZER BLADE (08) - HYDRAULICS
21
116
116
19
17
19
115
117
18
114
25
28
94
23
17
17
29
18
119
117
22
16
120
26
19
18
18
27
16
19
17
30
18
31
16
94
18
20
FIT
1:1
100%

Артикул

Название

Примечание

Количество

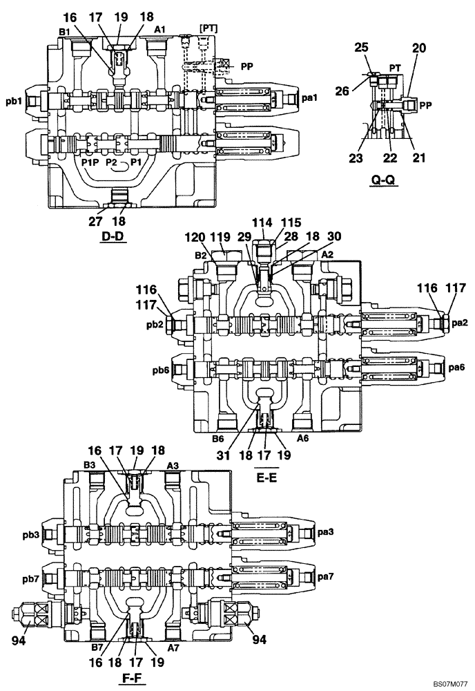
KMJ10660

CONTROL VALVE

Includes Parts On Figure(s) 08-18 - 08-24

1шт.

16

LJ00997

POPPET

8шт.

17

156026A1

SPRING

9шт.

18

155222A1

O-RING

11шт.

19

155464A1

PLUG

9шт.

20

LK00363

PLUG

Incl. 21 - 23

1шт.

21

154475A1

O-RING

1шт.

22

155087A1

O-RING

1шт.

23

154458A1

O-RING

1шт.

163368A1

PLUG

Incl. 25, 26

4шт.

25

NSS

NOT SOLD SEPARAT

1шт.

26

154455A1

O-RING

1шт.

27

TLC0002

PLUG

1шт.

28

LK00407

PLUG

1шт.

29

LJ00998

POPPET

1шт.

30

LG00478

COMPRESSION SPRING

1шт.

31

LJ013520

VALVE POPPET

1шт.

114

LLC0075

PLUG

1шт.

115

154487A1

O-RING

1шт.

116

154467A1

O-RING,10.8mm ID x 2.4mm Width

2шт.

117

LK00301

PLUG

2шт.

119

165836A1

PLUG

1шт.

120

154503A1

O-RING

1шт.

Выбрано товаров: 23