Запчасти Case CX135SR (08-22) - KMJ10660 VALVE ASSY, CONTROL - MODELS WITHOUT DOZER BLADE (08) - HYDRAULICS

Схема запчастей Case CX135SR - (08-22) - KMJ10660 VALVE ASSY, CONTROL - MODELS WITHOUT DOZER BLADE (08) - HYDRAULICS
33
17
62
17
32
56
38
56
16
17
58
65
25
16
94
32
35
24
19
33
94
26
18
59
19
18
96
36
58
64
37
19
57
16
63
60
94
94
34
34
57
38
18
95
56
61
56
FIT
1:1
100%

Артикул

Название

Примечание

Количество

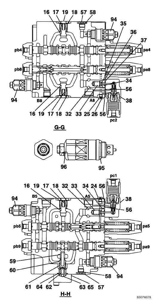
KMJ10660

CONTROL VALVE

Includes Parts On Figure(s) 08-18 - 08-24

1шт.

16

LJ00997

POPPET

8шт.

17

156026A1

SPRING

9шт.

18

155222A1

O-RING

11шт.

19

155464A1

PLUG

9шт.

163368A1

PLUG

Incl. 25, 26

2шт.

25

NSS

NOT SOLD SEPARAT

Plug

1шт.

26

154455A1

O-RING

1шт.

32

LJ01000

POPPET

2шт.

33

LJ01001

SPRING

2шт.

34

LH00327

SPACER

Incl. 35 - 37

2шт.

35

154498A1

O-RING

1шт.

36

153979A1

BACK-UP RING

1шт.

37

154471A1

O-RING

1шт.

38

LJ01002

VALVE

See Figure 08-24

2шт.

56

154447A1

O-RING

4шт.

57

163369A1

PLUG

Incl. 58

4шт.

58

154475A1

O-RING

1шт.

59

LH00328

SLEEVE

1шт.

60

LJ01003

POPPET

1шт.

61

LG00446

COMPRESSION SPRING

1шт.

62

LJ01004

POPPET

1шт.

63

LG00447

COMPRESSION SPRING

1шт.

64

154517A1

O-RING

1шт.

65

LH00329

FLANGE

1шт.

94

KMJ2914

VALVE PRESSURE RELIE

Incl. 95, 96

6шт.

95

155223A1

O-RING

1шт.

96

154463A1

O-RING

1шт.

Выбрано товаров: 28