Запчасти Case CX135SR (08-29) - KMJ10690 VALVE ASSY, CONTROL - MODELS WITH DOZER BLADE (08) - HYDRAULICS

Схема запчастей Case CX135SR - (08-29) - KMJ10690 VALVE ASSY, CONTROL - MODELS WITH DOZER BLADE (08) - HYDRAULICS
63
94
16
58
25
34
37
60
94
19
57
26
65
62
18
57
16
19
17
18
94
56
38
33
35
61
33
94
17
94
18
18
36
38
58
59
16
32
24
17
17
16
19
64
56
18
32
56
17
19
94
56
19
16
FIT
1:1
100%

Артикул

Название

Примечание

Количество

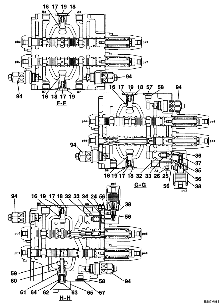
KMJ10690

CONTROL VALVE

Includes Parts On Figure(s) 08-25 - 08-31

1шт.

16

LJ00997

POPPET

8шт.

17

156026A1

SPRING

9шт.

18

155222A1

O-RING

11шт.

19

155464A1

PLUG

9шт.

163368A1

PLUG

Incl. 25, 26

4шт.

25

NSS

NOT SOLD SEPARAT

Plug

4шт.

26

154455A1

O-RING

1шт.

32

LJ01000

POPPET

2шт.

33

LJ01001

SPRING

2шт.

34

LH00327

SPACER

Incl. 35 - 37

2шт.

35

154498A1

O-RING

1шт.

36

153979A1

BACK-UP RING

1шт.

37

154471A1

O-RING

1шт.

38

LJ01002

VALVE

See Figure 08-31

2шт.

56

154447A1

O-RING

4шт.

57

163369A1

PLUG

Incl. 58

4шт.

58

154475A1

O-RING

1шт.

59

LH00328

SLEEVE

1шт.

60

LJ01003

POPPET

1шт.

61

LG00446

COMPRESSION SPRING

1шт.

62

LJ01004

POPPET

1шт.

63

LG00447

COMPRESSION SPRING

1шт.

64

154517A1

O-RING

1шт.

65

LH00329

FLANGE

1шт.

94

KMJ2914

VALVE PRESSURE RELIE

See Figure 08 - 31

6шт.

Выбрано товаров: 26