Запчасти Case CX135SR (08-39) - PILOT CONTROL LINES - MODELS WITH CONTROL SELECTOR VALVE (08) - HYDRAULICS

Схема запчастей Case CX135SR - (08-39) - PILOT CONTROL LINES - MODELS WITH CONTROL SELECTOR VALVE (08) - HYDRAULICS
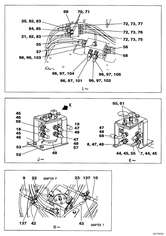
137
85
84
55
72
83
137
46
70
50
82
7
45
8
57
56
77
58
20
58
96
45
96
96
48
82
73
97
97
21
47
56
69
48
23
47
105
18
51
76
73
19
101
46
72
97
48
72
96
47
42
97
10
9
47
48
83
102
45
53
104
45
52
75
55
44
44
99
73
43
98
57
71
22
49
103
FIT
1:1
100%

Артикул

Название

Примечание

Количество

7

KHJ2387

HOSE

1550 mm (61 in)

1шт.

8

KHJ2387

HOSE

1550 mm (61 in)

1шт.

9

KHJ2182

HOSE

1450 mm (57-1/8 in)

1шт.

10

KHJ2333

HOSE

1920 mm (75-5/8 in)

1шт.

18

KHJ2213

HOSE

1480 mm (58-3/8 in)

1шт.

19

KHJ2213

HOSE

1480 mm (58-3/8 in)

1шт.

20

KHJ2391

HOSE

1500 mm (59-1/8 in)

1шт.

21

KHJ2387

HOSE

1550 mm (61 in)

1шт.

22

KHJ2335

HOSE

1780 mm (70-1/8 in)

1шт.

23

KHJ2336

HOSE

1800 mm (70-7/8 in)

1шт.

42

KHJ1507

HYDRAULIC HOSE,6.35 mm ID x 420.00 mm

1шт.

43

168728A1

HYDRAULIC HOSE,6.30 mm ID x 400.00 mm

1шт.

44

150498A1

MOUNTING CLIP

3шт.

45

153559A1

ELBOW

4шт.

46

154467A1

O-RING,10.8mm ID x 2.4mm Width

1шт.

47

152747A1

ADAPTER

4шт.

48

154467A1

O-RING,10.8mm ID x 2.4mm Width

1шт.

49

KHJ2184

VALVE

See Figure 08 - 84

1шт.

50

167836A1

BOLT,High Strength, M10 x 25mm

M10X25

2шт.

51

150409A1

WASHER

2шт.

52

KMJ2985

BRACKET

1шт.

53

166052A1

BOLT

M10X25

2шт.

55

KHJ2323

HOSE

1шт.

56

KHJ2416

HOSE

1шт.

57

KHJ2438

HOSE

1шт.

58

KHJ2439

HOSE

1шт.

69

KHJ17110

VALVE

1шт.

70

827-8045

BOLT,Hex, M8 x 1.25 x 45mm, Cl 10.9

2шт.

71

153081A1

WASHER

2шт.

72

152127A1

HYD CONNECTOR,1/4" NPT O-Ring x 1/4" NPT

3шт.

73

154467A1

O-RING,10.8mm ID x 2.4mm Width

1шт.

75

KHJ2074

HOSE

1шт.

76

KHJ2075

HOSE

1шт.

77

KHJ2074

HOSE

1шт.

82

152747A1

ADAPTER

2шт.

83

154467A1

O-RING,10.8mm ID x 2.4mm Width

1шт.

96

152128A1

HYD CONNECTOR,3/8" NPT O-Ring x 3/8" NPT

4шт.

97

154475A1

O-RING

1шт.

98

KHJ2136

ADAPTER

1шт.

99

154467A1

O-RING,10.8mm ID x 2.4mm Width

1шт.

101

KHJ2746

HOSE

1шт.

102

KHJ2102

HOSE

1шт.

103

KHJ2344

HOSE

1шт.

104

KHJ2349

HOSE

1шт.

105

KHJ2145

HOSE

1шт.

137

158842A1

PLUG

2шт.

Выбрано товаров: 46