Качественные детали и логистика
Оригинальные и аналоговые запчасти с доставкой по России, Казахстану и Беларуси
©2022 PartSell ООО "Система" ИНН 2463123282 ОГРН 1212400004838
Центральный офис: г. Красноярск, Академика Киренского, д.87, пом.4
Телефон: 8 (800) 777-65-74 Email: zakaz@partsell.ru
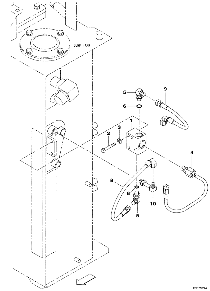
(08-56) - HYDRAULIC RESERVOIR - PRESSURE SWITCH
№
Артикул
Название
Примечание
Количество
1
KHJ11730
MANIFOLD VALVE
1шт.
2
827-8055
BOLT,Hex, M8 x 1.25 x 55mm, Cl 10.9
2шт.
3
153081A1
WASHER
4
KHR14470
PRESSURE SWITCH
Pressure
5
150913A1
ELBOW,90 Degree, 1/4" O-Ring x 1/4"
Incl. 6
6
154467A1
O-RING,10.8mm ID x 2.4mm Width
8
KHJ2351
HOSE
6X420 mm
9
KHJ2238
6X320 mm
10
KHJ1178
ELBOW
Выбрано товаров: 0