Запчасти Case CX135SR (08-69) - VALVE LOCK - BOOM CYLINDER (KNV12850) (08) - HYDRAULICS

Схема запчастей Case CX135SR - (08-69) - VALVE LOCK - BOOM CYLINDER (KNV12850) (08) - HYDRAULICS
13
17
7
14
8
26
10
28
20
13
13
21
11
11
25
16
13
13
13
6
2
4
10
18
3
3
13
28
27
27
15
24
19
5
23
12
22
9
4
1
FIT
1:1
100%

Артикул

Название

Примечание

Количество

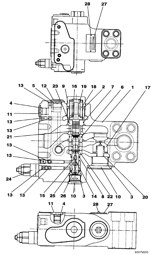
1

NSS

NOT SOLD SEPARAT

VALVE, Body

1шт.

2

154508A1

O-RING

1шт.

3

154491A1

O-RING

2шт.

4

154467A1

O-RING,10.8mm ID x 2.4mm Width

2шт.

5

154475A1

O-RING

1шт.

6

LBQ6019

O-RING

1шт.

7

LBQ6021

O-RING

1шт.

8

LE015010

SEAL

1шт.

9

LK005710

PLUG

1шт.

10

LK005700

PLUG

2шт.

11

LK00015

PLUG

2шт.

12

LK00008

PLUG

1шт.

16

LR015420

SPRING SEAT

1шт.

17

LJ014850

VALVE POPPET

1шт.

18

LG006110

COMPRESSION SPRING

1шт.

19

LG006100

COMPRESSION SPRING

1шт.

20

LG006090

COMPRESSION SPRING

1шт.

24

LJ014840

VALVE PRESSURE RELIE

1шт.

25

LJ014830

PISTON

1шт.

26

LJ014820

PISTON

1шт.

Выбрано товаров: 20