Запчасти Case CX135SR (08-70) - BOOM CYLINDER - RIGHT - (HBCV) (08) - HYDRAULICS

Схема запчастей Case CX135SR - (08-70) - BOOM CYLINDER - RIGHT - (HBCV) (08) - HYDRAULICS
12
32
37
19
30
14
8
13
27
9
3
26
6
23
39
31
34
15
20
24
28
38
2
41
33
42
17
25
40
31
36
16
5
21
29
22
18
35
10
FIT
1:1
100%

Артикул

Название

Примечание

Количество

NSS

NOT SOLD SEPARAT

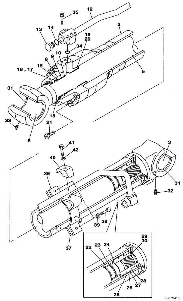
BOOM CYLINDER ASSY - RIGHT, Incl. 1 - 42

1шт.

LZ009450

HYD CYL SLEEVE

TUBE, CYLINDER, Incl. 2 & 3

1шт.

2

NSS

NOT SOLD SEPARAT

TUBE, CYLINDER

1шт.

3

LKU0044

BUSHING

1шт.

LZ009460

PISTON ROD

ROD, CYLINDER, Incl. 5 & 6

1шт.

5

NSS

NOT SOLD SEPARAT

ROD, PISTON

1шт.

6

155413A1

BUSHING

1шт.

NSS

NOT SOLD SEPARAT

HEAD, CYLINDER, Incl. 8 - 10

1шт.

8

LU00126

CYLINDER END CAP

1шт.

9

160843A1

BUSHING

1шт.

10

160870A1

BACK-UP RING

1шт.

LR016790

HYD TUBE

PIPE, SPL. Incl. 12 - 14

1шт.

12

NSS

NOT SOLD SEPARAT

PIPE, SPL.

1шт.

13

LK00195

PLUG

1шт.

14

154475A1

O-RING

1шт.

15

LE015050

RING

1шт.

16

LE015060

O-RING

1шт.

17

160808A1

BACK-UP RING

1шт.

18

160783A1

WIPER SEAL

1шт.

19

154721A1

O-RING,99.4mm ID x 3.1mm Width

1шт.

20

161880A1

BACK-UP RING

1шт.

21

108R014Z065N

BOLT

12шт.

22

LE01010

BACK-UP RING

1шт.

23

LE00881

RING

1шт.

24

LJ014880

PISTON

1шт.

25

155330A1

SEALING RING

1шт.

26

161881A1

BACK-UP RING

2шт.

27

LE015080

SCRAPER RING

2шт.

28

161883A1

BACK-UP RING

2шт.

29

156222A1

SCREW

1шт.

30

155976A1

BALL

1шт.

31

164446A1

WIPER SEAL

4шт.

32

153630A1

LUBE NIPPLE

1шт.

33

153631A1

LUBE NIPPLE,1/8"-27 NPT

1шт.

34

154499A1

O-RING

1шт.

35

861-8025

HEX SOC SCREW,M8 x 25mm, Cl 12.9

4шт.

36

LD00100

CLAMP BRACKET

1шт.

37

LD00071

CLAMP BRACKET

1шт.

38

158131A1

BOLT,High Strength, M10 x 1.5 x 35mm, Cl 10.9

2шт.

39

156227A1

WASHER

2шт.

40

160874A1

CLAMP

1шт.

41

827-12050

BOLT,Hex, M12 x 1.75 x 50mm, Cl 10.9

1шт.

42

892-10012

LOCK WASHER,M12

1шт.

43

LZ009410

SEAL KIT

KIT CYLINDER PAERTS, Incl. 15-20, 23, 25-28

1шт.

Выбрано товаров: 44