Запчасти Case CX135SR (08-73) - CYLINDER ASSY - ARM (08) - HYDRAULICS

Схема запчастей Case CX135SR - (08-73) - CYLINDER ASSY - ARM (08) - HYDRAULICS
35
47
15
27
33
37
19
53
18
36
14
46
26
21
8
48
36
12
49
16
23
25
11
34
32
24
5
40
17
30
3
28
39
52
2
31
41
20
6
10
29
13
51
FIT
1:1
100%

Артикул

Название

Примечание

Количество

Models With Load Hold

1шт.

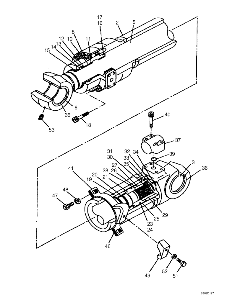
KNV1621

HYDRAULIC CYLINDER

Arm, Incl. 1 - 53

1шт.

KNV1621R

REMAN-HYD CYLINDER

CX135SR CRAWLER EXCAVATOR TIER 3, Arm (3/08-)

1шт.

KNV1621C

CORE-HYD CYLINDER

Return Number

1шт.

LR00613

HYD CYL SLEEVE

Incl. 2, 3

1шт.

2

NSS

NOT SOLD SEPARAT

Tube, Cylinder

1шт.

3

161030A1

BUSHING

1шт.

LB00638

PISTON ROD

Incl. 5, 6

1шт.

5

NSS

NOT SOLD SEPARAT

Rod, Piston

1шт.

6

161030A1

BUSHING

1шт.

8

LU00101

CYLINDER END CAP

1шт.

10

155430A1

BUSHING

1шт.

11

155696A1

RING, SNAP

RING SNAP

1шт.

12

LE00766

SEAL,80mm ID x 96.2mm OD x 5.8mm Thk

1шт.

13

155132A1

RING,80mm ID x 95mm OD x 9mm Thk

1шт.

14

155241A1

BACK-UP RING

1шт.

15

158033A1

WIPER SEAL

1шт.

16

154741A1

O-RING

1шт.

17

160812A1

BACK-UP RING

1шт.

18

161059A1

BOLT,Hex Skt, M16 x 70mm, Cl 12.9

10шт.

19

155160A1

RING

Cushion

1шт.

20

LE00726

RING

1шт.

21

160943A1

PISTON

1шт.

160824A1

SEALING RING

1шт.

23

NSS

NOT SOLD SEPARAT

Ring

1шт.

24

NSS

NOT SOLD SEPARAT

O-Ring

1шт.

25

160813A1

BACK-UP RING

2шт.

26

LE00703

RING

2шт.

27

160827A1

RING

2шт.

28

155723A1

WASHER

1шт.

29

LA00774

SPECIAL NUT

1шт.

30

156223A1

SET SCREW

1шт.

31

155977A1

BALL

1шт.

32

160875A1

RING

Cushion

1шт.

33

LE00727

RING

1шт.

34

160876A1

STOP

2шт.

35

160873A1

RING, SNAP

RING SNAP

1шт.

36

164446A1

WIPER SEAL

4шт.

37

160844A1

CLAMP

1шт.

39

154528A1

O-RING

2шт.

40

861-10050

HEX SOC SCREW,M10 x 50mm, Cl 12.9

8шт.

41

LD00031

CLAMP BRACKET

1шт.

46

LD00040

CLAMP BRACKET

1шт.

47

158131A1

BOLT,High Strength, M10 x 1.5 x 35mm, Cl 10.9

2шт.

48

156227A1

WASHER

2шт.

49

155717A1

COLLAR

1шт.

51

628-12055

BOLT,Hex, M12 x 1.75 x 55mm, Cl 10.9, Full Thd

1шт.

52

892-10012

LOCK WASHER,M12

1шт.

53

153631A1

LUBE NIPPLE,1/8"-27 NPT

1шт.

LZ00449

SEAL KIT

Incl. 12 - 17, 20, 23 - 27, 33

1шт.

Выбрано товаров: 50