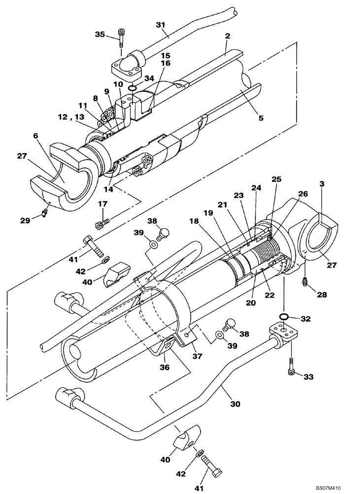
Запчасти Case CX135SR (08-79) - BOOM CYLINDER - LEFT - WITHOUT (HBCV) (08) - HYDRAULICS

Схема запчастей Case CX135SR - (08-79) - BOOM CYLINDER - LEFT - WITHOUT (HBCV) (08) - HYDRAULICS
23
16
36
38
37
40
34
35
5
27
26
27
8
13
30
40
39
10
42
42
2
28
41
29
17
11
25
18
31
33
3
24
41
9
21
32
39
14
19
22
20
38
15
6
12
FIT
1:1
100%

Артикул

Название

Примечание

Количество

KMV13970

HYDRAULIC CYLINDER

BOOM CYLINDER ASSY - LEFT, Incl. 1 - 42

1шт.

KMV13970R

REMAN-HYD CYLINDER

CX135SR CRAWLER EXCAVATOR TIER 3, BOOM CYLINDER ASSY, LEFT, WITHOUT (HBCV) (3/08-)

1шт.

KMV13970C

CORE-HYD CYLINDER

Return Number

1шт.

LZ009450

HYD CYL SLEEVE

TUBE, CYLINDER, Incl. 2 & 3

1шт.

2

NSS

NOT SOLD SEPARAT

TUBE, CYLINDER

1шт.

3

LKU0044

BUSHING

1шт.

4

LZ009460

PISTON ROD

ROD, CYLINDER, Incl. 5 & 6

1шт.

5

NSS

NOT SOLD SEPARAT

ROD, PISTON

1шт.

6

155413A1

BUSHING

1шт.

7

NSS

NOT SOLD SEPARAT

CAP CYLINDER END, Incl. 8 - 10

1шт.

8

LU00126

CYLINDER END CAP

1шт.

9

160843A1

BUSHING

1шт.

10

160870A1

BACK-UP RING

1шт.

11

LE015050

RING

1шт.

12

LE015060

O-RING

1шт.

13

160808A1

BACK-UP RING

1шт.

14

160873A1

RING, SNAP

RING SNAP

1шт.

15

154721A1

O-RING,99.4mm ID x 3.1mm Width

1шт.

16

161880A1

BACK-UP RING

1шт.

17

108R014Z065N

BOLT

M14X65

12шт.

18

LE01010

BACK-UP RING

1шт.

19

LE00881

RING

1шт.

20

LJ014880

PISTON

1шт.

21

155330A1

SEALING RING

1шт.

22

161881A1

BACK-UP RING

2шт.

23

LE015080

SCRAPER RING

2шт.

24

161883A1

BACK-UP RING

2шт.

25

156222A1

SCREW

1шт.

26

155976A1

BALL

1шт.

27

164446A1

WIPER SEAL

4шт.

28

153630A1

LUBE NIPPLE

1шт.

29

153631A1

LUBE NIPPLE,1/8"-27 NPT

1шт.

30

LR016820

HYD TUBE

PIPE, SPL.

1шт.

31

LR016800

HYD TUBE

PIPE, SPL.

1шт.

32

154528A1

O-RING

1шт.

33

87016471

HEX SOC SCREW,M10 x 30mm, Cl 12.9

BAND SPL.

4шт.

34

154499A1

O-RING

1шт.

35

861-8025

HEX SOC SCREW,M8 x 25mm, Cl 12.9

4шт.

36

LD001680

CLAMP BRACKET

BAND, SPL.

1шт.

37

LZU0095

CLAMP BRACKET

1шт.

38

158131A1

BOLT,High Strength, M10 x 1.5 x 35mm, Cl 10.9

2шт.

39

156227A1

WASHER

2шт.

40

160874A1

CLAMP

2шт.

41

827-12050

BOLT,Hex, M12 x 1.75 x 50mm, Cl 10.9

2шт.

42

892-10012

LOCK WASHER,M12

2шт.

43

LZ009410

SEAL KIT

KIT CYLINDER PAERTS, Incl. Fig. 11-16, 19, 21-24

1шт.

Выбрано товаров: 46