Запчасти Case CX135SR (08-81) - MOTOR ASSY - SWING (08) - HYDRAULICS

Схема запчастей Case CX135SR - (08-81) - MOTOR ASSY - SWING (08) - HYDRAULICS
73
65
74
64
79
65
72
68
76
59
66
67
77
78
57
82
53
83
81
62
58
56
70
55
69
60
63
54
75
80
71
FIT
1:1
100%

Артикул

Название

Примечание

Количество

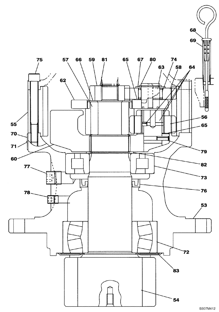
KMC10010

HYDRAULIC MOTOR

Incl. 52 - 83, Also Includes Parts on Figure 08-80

1шт.

KMC10010R

REMAN-MOTO REDUCTION

CX135SR CRAWLER EXCAVATOR TIER 3 (3/08-)

1шт.

KMC10010C

CORE-MOTO-REDUCTION UNIT

Return Number

1шт.

52

NSS

NOT SOLD SEPARAT

Reduction Gear, Incl. 53 - 83

1шт.

53

LZM0383

HOUSING

1шт.

54

LB00745

DRIVE SHAFT

1шт.

55

LDM0220

RING GEAR

1шт.

56

LDM0221

PLANETARY GEAR

4шт.

57

LDM0222

SUN GEAR

1шт.

58

LDM0223

PLANETARY GEAR

3шт.

59

LDM0224

SUN GEAR

1шт.

60

LDM0225

FRAME ASSY

1шт.

LDM0226

PINION CARRIER

GEAR CARRIER Incl. 75, 76

1шт.

62

NSS

NOT SOLD SEPARAT

Carrier, Pinion

1шт.

63

NSS

NOT SOLD SEPARAT

Pin

3шт.

64

LMM0600

DOWEL

4шт.

65

LMM0601

WASHER

7шт.

66

LUM0191

WASHER

1шт.

67

LMM0602

PLATE

3шт.

68

155671A1

DIPSTICK

1шт.

69

155488A1

PIPE

1шт.

70

NSS

NOT SOLD SEPARAT

NAME PLATE

1шт.

71

NSS

NOT SOLD SEPARAT

RIVET

2шт.

72

LTM0237

ROLLER BEARING

1шт.

73

LTM0238

BEARING, ROLLER, CYL

1шт.

74

LTM0239

ROLLER BEARING

3шт.

75

862-12100

HEX SOC SCREW,M12 x 100mm, Cl 12.9

Replaces 108R012Y100N

10шт.

76

LAM0075

OIL SEAL

1шт.

77

155497A1

PLUG

1шт.

78

LLM0108

PLUG

2шт.

79

738-1620

LOCK PIN,6mm OD x 20mm L, Slotted

4шт.

80

370A0300Z

SNAP RING

3шт.

81

800-1125

SNAP RING,M25, Ext

1шт.

82

LA00571

SNAP RING

1шт.

83

LAM0076

SEAL

1шт.

Выбрано товаров: 35