Запчасти Case CX135SR (08-82) - VALVE ASSY - PILOT CONTROL LINES (08) - HYDRAULICS

Схема запчастей Case CX135SR - (08-82) - VALVE ASSY - PILOT CONTROL LINES (08) - HYDRAULICS
8
16
15
12
5
10
14
10
6
7
10
2
11
6
3
4
10
12
1
11
7
10
9
6
9
8
1
FIT
1:1
100%

Артикул

Название

Примечание

Количество

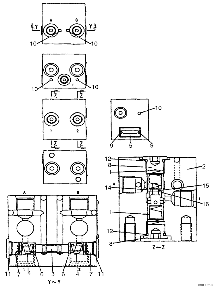
KHJ2317

VALVE, CUSHION

Incl. 1 - 16

1шт.

1

LG00377

COMPRESSION SPRING

4шт.

2

NSS

NOT SOLD SEPARAT

1шт.

3

LJ00841

SPOOL

1шт.

4

LG00378

COMPRESSION SPRING

2шт.

5

NSS

NOT SOLD SEPARAT

1шт.

6

LH00287

RETAINER

2шт.

7

160083A1

PLUG

2шт.

8

155515A1

PLUG

4шт.

9

LA00769

RIVET

2шт.

10

NSS

NOT SOLD SEPARAT

6шт.

11

154467A1

O-RING,10.8mm ID x 2.4mm Width

2шт.

12

154475A1

O-RING

4шт.

LJ01084

PLUNGER

Incl. 14 - 16

2шт.

14

NSS

NOT SOLD SEPARAT

Plunger

1шт.

15

NSS

NOT SOLD SEPARAT

Ring

1шт.

16

NSS

NOT SOLD SEPARAT

Orifice

1шт.

Выбрано товаров: 17