Запчасти Case CX135SR (02-09) - COVER - CYLINDER HEAD (02) - ENGINE

Схема запчастей Case CX135SR - (02-09) - COVER - CYLINDER HEAD (02) - ENGINE
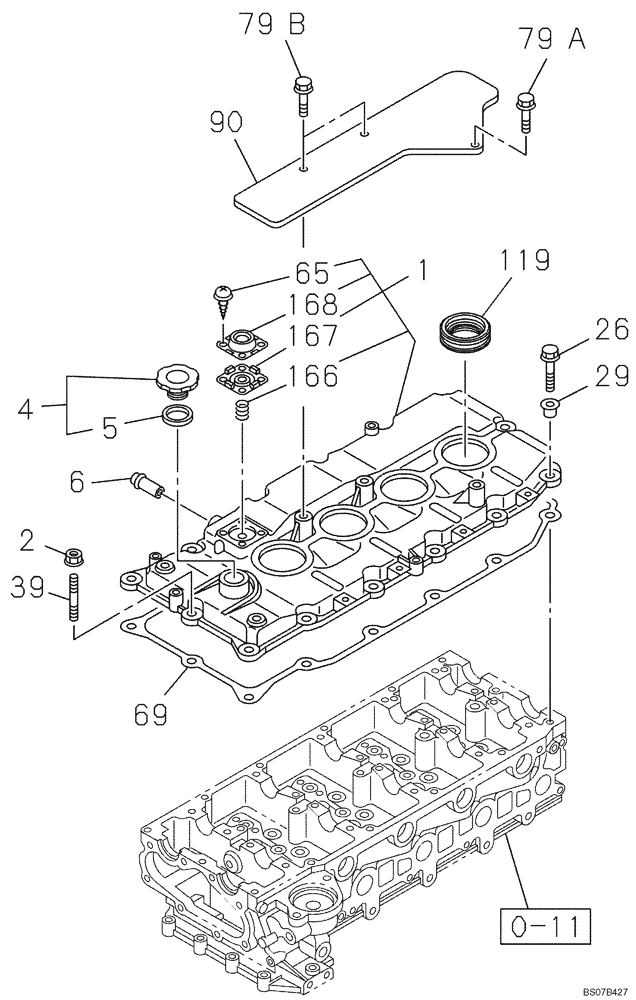
4
1
90
167
39
6
79a
69
0-11
29
65
2
168
5
26
166
79b
119
FIT
1:1
100%

Артикул

Название

Примечание

Количество

0-11

REF

INSTRUCTION

See Figure 02-10

1шт.

1

87595265

COVER

Incl. 65, 166 - 168

1шт.

2

87595267

NUT

1шт.

4

353965A1

FILLER CAP

Incl. 5

1шт.

5

353966A1

GASKET

2шт.

6

87595269

PIPE

1шт.

26

87595272

BOLT

13шт.

29

87595273

RUBBER SEAL

14шт.

39

87595274

STUD

1шт.

65

87595289

ADJUSTMENT SCREW,Hex, M12 x 1.25 x 70mm, Cl 8.8

4шт.

69

87595291

GASKET

1шт.

79a

87595292

BOLT

1шт.

79b

87595323

BOLT

2шт.

90

87595356

COVER

1шт.

119

87595387

COVER

4шт.

166

NSS

NOT SOLD SEPARAT

Spring

1шт.

167

87595390

DIAPHRAGM

1шт.

168

87595391

COVER

1шт.

Выбрано товаров: 18