Запчасти Case CX135SR (02-12) - CYLINDER BLOCK (02) - ENGINE

Схема запчастей Case CX135SR - (02-12) - CYLINDER BLOCK (02) - ENGINE
38
61
211
23c
23c
352
0-13
399
38
400
23a
7
52
70
51
401
1
8
13
23b
61
FIT
1:1
100%

Артикул

Название

Примечание

Количество

0-13

REF

INSTRUCTION

See Figure 02-14

1шт.

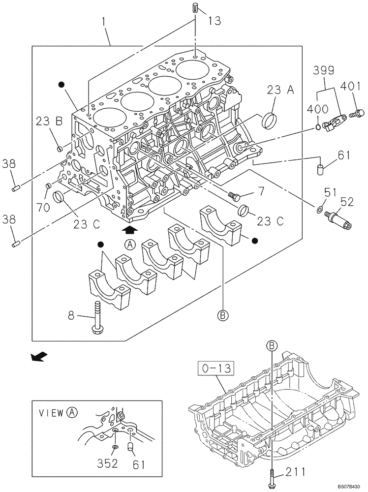
1

87595845

CYLINDER BLOCK,4 Cylinders

Incl. 23A, 23B, 23C, 70; Also See Figure 02-13

1шт.

7

355138A1

PLUG

2шт.

8

353948A1

BOLT

10шт.

13

355142A1

DOWEL

2шт.

23a

76609741

PLUG

2шт.

23b

87595849

CUPEL

4шт.

23c

355144A1

RING

2шт.

38

87379458

PIN

2шт.

51

87595851

GASKET

1шт.

52

87595852

NIPPLE, LUBE

NIPPLE

1шт.

61

355160A1

PLUG

2шт.

70

353962A1

PLUG

6шт.

211

87595918

BOLT

19шт.

352

87595924

GASKET

1шт.

399

87595926

SENSOR

Incl. 400 CMP

1шт.

400

87595936

GASKET

1шт.

401

87595938

BOLT

1шт.

Выбрано товаров: 18