Качественные детали и логистика
Оригинальные и аналоговые запчасти с доставкой по России, Казахстану и Беларуси
©2022 PartSell ООО "Система" ИНН 2463123282 ОГРН 1212400004838
Центральный офис: г. Красноярск, Академика Киренского, д.87, пом.4
Телефон: 8 (800) 777-65-74 Email: zakaz@partsell.ru
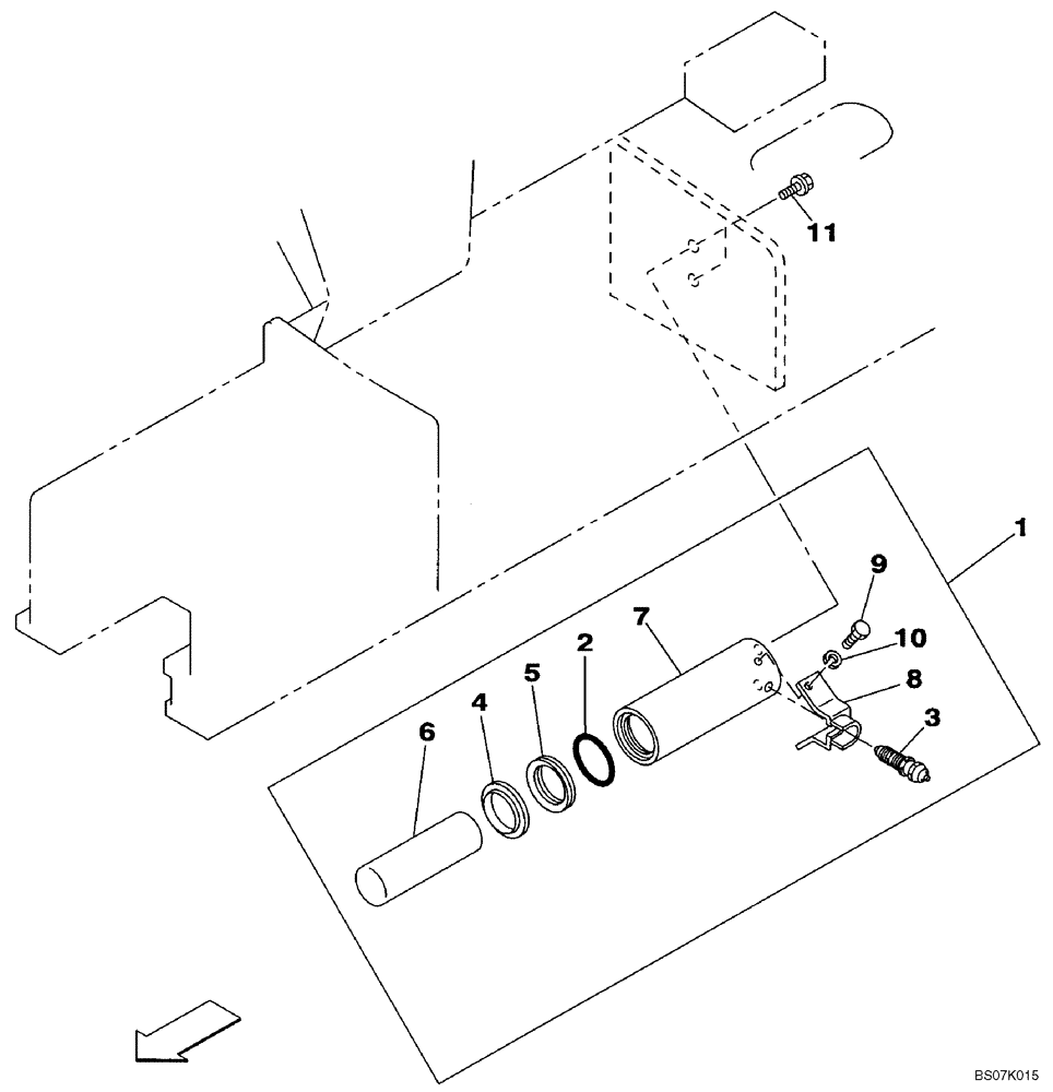
(05-04) - TRACK - ADJUSTER CYLINDER
№
Артикул
Название
Примечание
Количество
1
150903A1
CYLINDER
Track Adjuster, Incl. 2 - 11
2шт.
2
154656A1
O-RING
3
150107A1
LUBE NIPPLE
4
150557A1
SEAL,65mm ID x 79mm OD x 11mm Thk
5
KHA10090
BACK-UP RING
OD 75mm - ID 65mm. - Thk 1.9mm
6
150756A1
JACK PISTON
7
150907A1
CYLINDER ASSY.
8
151234A1
BRACKET
9
627-10020
BOLT,Hex, M10 x 1.5 x 20mm, Cl 10.9, Full Thd
4шт.
10
892-11010
LOCK WASHER,M10
11
165929A1
BOLT,Sems, M16
Выбрано товаров: 0