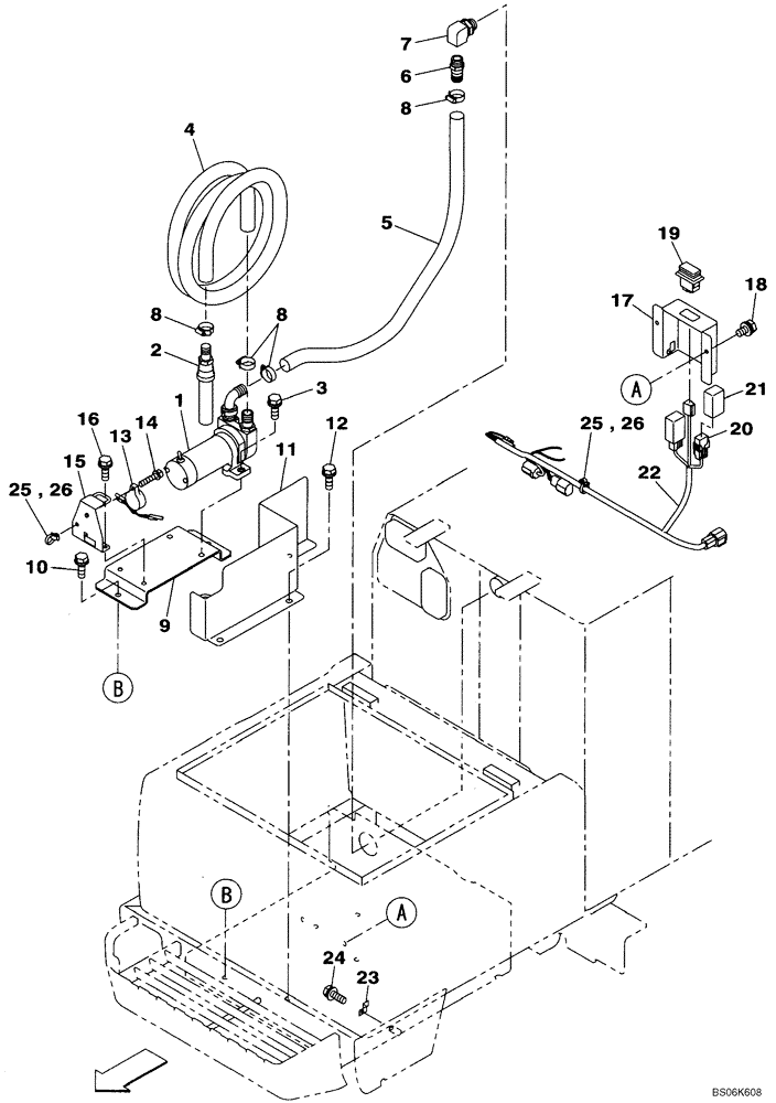
Запчасти Case CX135SR (03-03) - FUEL FILLING PUMP - OPTIONAL (03) - FUEL SYSTEM

Схема запчастей Case CX135SR - (03-03) - FUEL FILLING PUMP - OPTIONAL (03) - FUEL SYSTEM
1
25
9
16
10
3
18
23
13
12
17
24
14
4
22
20
8
8
21
8
25
19
5
26
7
2
11
15
26
6
FIT
1:1
100%

Артикул

Название

Примечание

Количество

1

KHR12840

FUEL PUMP

1шт.

2

KHR12430

VALVE SECTION

1шт.

3

166347A1

BOLT,Sems, M10 x 30mm

2шт.

4

KHR11460

FUEL HOSE

4000 mm (157-1/2 in)

1шт.

5

KHR12910

FUEL HOSE

1200 mm (47-1/4 in)

1шт.

6

KHR11480

LUBE NIPPLE

1шт.

7

KHJ2320

ELBOW

1шт.

8

157917A1

COLLAR

4шт.

9

KHR12860

SUPPORT

1шт.

10

166351A1

BOLT,Sems, M10 x 20mm

2шт.

11

KHR15090

COVER

1шт.

12

166351A1

BOLT,Sems, M10 x 20mm

3шт.

13

KHR4024

ALARM

1шт.

14

KHR1832

SPECIAL BOLT

1шт.

15

KHR12880

SUPPORT

1шт.

16

166345A1

BOLT

2шт.

17

KHR15080

COVER

1шт.

18

159602A1

BOLT,Sems, Hex, M6 x 16mm

2шт.

19

KHR12900

SWITCH

1шт.

20

KHR3802

RELAY

2шт.

21

159904A1

COVER

2шт.

22

KHR15101

HARNESS

1шт.

23

KHR16450

CLIP

1шт.

24

KHJ1215

BOLT,Spcl

1шт.

25

KHR10220

MOUNTING CLIP

2шт.

26

150496A1

MOUNTING CLIP

2шт.

Выбрано товаров: 26