Запчасти Case CX135SR (08-01) - HYDRAULIC RESERVOIR (08) - HYDRAULICS

Схема запчастей Case CX135SR - (08-01) - HYDRAULIC RESERVOIR (08) - HYDRAULICS
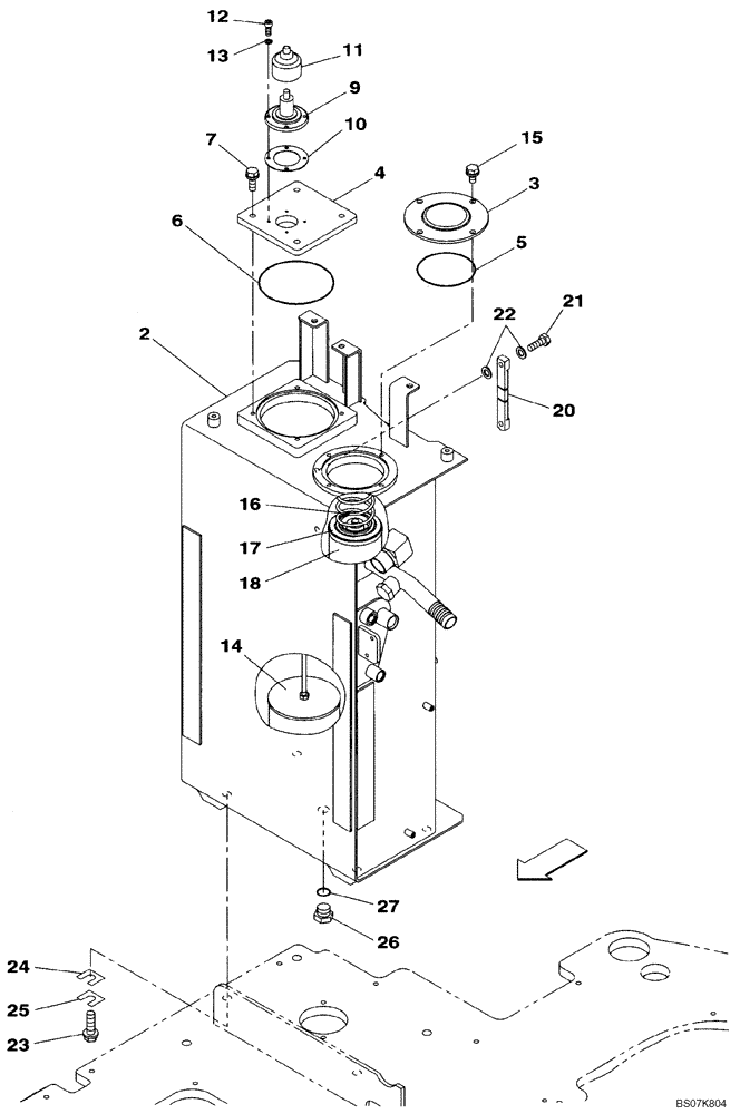
6
27
21
13
7
20
10
4
2
23
3
9
14
18
11
17
24
16
15
12
22
26
25
5
FIT
1:1
100%

Артикул

Название

Примечание

Количество

1

KMJ11820

RESERVOIR, HYDRAULIC

Incl. 2 - 6

1шт.

2

NSS

NOT SOLD SEPARAT

Tank, Oil

1шт.

3

KMJ2672

COVER

1шт.

4

KMJ2228

COVER

1шт.

5

154776A1

O-RING

1шт.

6

154829A1

O-RING

1шт.

7

166347A1

BOLT,Sems, M10 x 30mm

M10X30

4шт.

8

KHJ2322

BREATHER

1шт.

9

159702A1

HYDRAULIC OIL FILTER

1шт.

10

159703A1

GASKET

1шт.

11

KHJ1492

CAP

1шт.

12

862-6016

HEX SOC SCREW,M6 x 16mm, Cl 12.9

4шт.

13

892-11006

LOCK WASHER,M6

4шт.

14

KMJ2671

FILTER STRAINER

1шт.

15

166351A1

BOLT,Sems, M10 x 20mm

M10X20

4шт.

16

KNJ2569

SPRING

1шт.

17

153191A1

VALVE

1шт.

18

KNJ14680

HYDRAULIC OIL FILTER

1шт.

19

163560A1

SIGHTGLASS

Incl. 20 - 22

1шт.

20

163561A1

GAUGE

1шт.

21

159492A1

BOLT

2шт.

22

159493A1

SEALING WASHER

SEAL WASHER

4шт.

23

165930A1

BOLT,Sems, M16 x 55mm

M16X55

4шт.

24

150166A1

SHIM

0,80 mm (0,032 in)

4шт.

25

150479A1

SHIM

2,00 mm (0,079 in)

4шт.

26

152924A1

PLUG

Incl. 27

1шт.

27

154503A1

O-RING

1шт.

Выбрано товаров: 27