Запчасти Case CX160 (08-35) - HYDRAULICS - PILOT PRESSURE, RETURN LINES; P.I.N. DAC0716098 - DAC0716269 (08) - HYDRAULICS

Схема запчастей Case CX160 - (08-35) - HYDRAULICS - PILOT PRESSURE, RETURN LINES; P.I.N. DAC0716098 - DAC0716269 (08) - HYDRAULICS
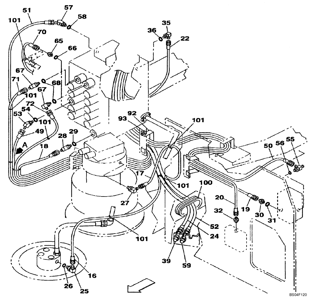
31
16
101
59
28
26
65
18
101
101
67
25
93
20
35
101
54
100
49
58
66
72
50
17
36
19
53
70
67
30
52
55
39
32
27
56
101
24
51
101
71
57
22
92
68
29
FIT
1:1
100%

Артикул

Название

Примечание

Количество

16

165392A1

HYDRAULIC HOSE

See Figure 08-32

1шт.

17

162555A1

HOSE

See Figure 08-32

1шт.

18

162555A1

HOSE

See Figure 08-32

1шт.

19

165392A1

HYDRAULIC HOSE

See Figure 08-32

1шт.

20

KAJ3243

HYDRAULIC HOSE

See Figure 08-32

1шт.

22

164791A1

HOSE ASSY.

See Figure 08-32

1шт.

24

161661A1

HYDRAULIC HOSE

See Figure 08-32

1шт.

25

150913A1

ELBOW,90 Degree, 1/4" O-Ring x 1/4"

Incl. 26

1шт.

26

154467A1

O-RING,10.8mm ID x 2.4mm Width

1шт.

27

153596A1

ADAPTER

1шт.

28

150913A1

ELBOW,90 Degree, 1/4" O-Ring x 1/4"

Incl. 29

1шт.

29

154467A1

O-RING,10.8mm ID x 2.4mm Width

1шт.

30

152127A1

HYD CONNECTOR,1/4" NPT O-Ring x 1/4" NPT

Incl. 31

1шт.

31

154467A1

O-RING,10.8mm ID x 2.4mm Width

1шт.

32

KHJ1291

ORIFICE

1шт.

35

150913A1

ELBOW,90 Degree, 1/4" O-Ring x 1/4"

Incl. 36

1шт.

36

154467A1

O-RING,10.8mm ID x 2.4mm Width

1шт.

39

162826A1

ADAPTER

1шт.

49

157852A1

HOSE,6.30 mm ID x 1650.00 mm

1650 mm (65 in), See Figure 08-32

1шт.

50

KHJ1937

HOSE

See Figure 08-32

1шт.

51

157853A1

HOSE,6.3 mm ID x 2050.00 mm

See Figure 08-32

1шт.

52

157963A1

HOSE

See Figure 08-32

1шт.

53

150933A1

ELBOW

Incl. 54

1шт.

54

154467A1

O-RING,10.8mm ID x 2.4mm Width

1шт.

55

159497A1

TEE

Incl. 56

1шт.

56

154467A1

O-RING,10.8mm ID x 2.4mm Width

1шт.

57

150933A1

ELBOW

Incl. 58

1шт.

58

154467A1

O-RING,10.8mm ID x 2.4mm Width

1шт.

59

162826A1

ADAPTER

1шт.

65

152127A1

HYD CONNECTOR,1/4" NPT O-Ring x 1/4" NPT

Incl. 66

1шт.

66

154467A1

O-RING,10.8mm ID x 2.4mm Width

1шт.

67

150913A1

ELBOW,90 Degree, 1/4" O-Ring x 1/4"

Incl. 68

2шт.

68

154467A1

O-RING,10.8mm ID x 2.4mm Width

1шт.

70

150966A1

HOSE ASSY.

See Figure 08-32

1шт.

71

KAJ3241

HYDRAULIC HOSE

See Figure 08-32

1шт.

72

157853A1

HOSE,6.3 mm ID x 2050.00 mm

See Figure 08-32

1шт.

92

161095A1

CLAMP

1шт.

93

627-8020

BOLT,Hex, M8 x 1.25 x 20mm, Cl 10.9, Full Thd

2шт.

896-15008

WASHER,9mm ID x 21mm OD x 2.5mm Thk

2шт.

100

152619A1

GROMMET

1шт.

101

150496A1

MOUNTING CLIP

250 mm (10 in)

1шт.

Выбрано товаров: 41