Запчасти Case CX160 (08-39) - HYDRAULICS, AUXILIARY - SINGLE ACTING CIRCUIT, PEDAL ACTIVATED (DAC0716101 - DAC0716848) (08) - HYDRAULICS

Схема запчастей Case CX160 - (08-39) - HYDRAULICS, AUXILIARY - SINGLE ACTING CIRCUIT, PEDAL ACTIVATED (DAC0716101 - DAC0716848) (08) - HYDRAULICS
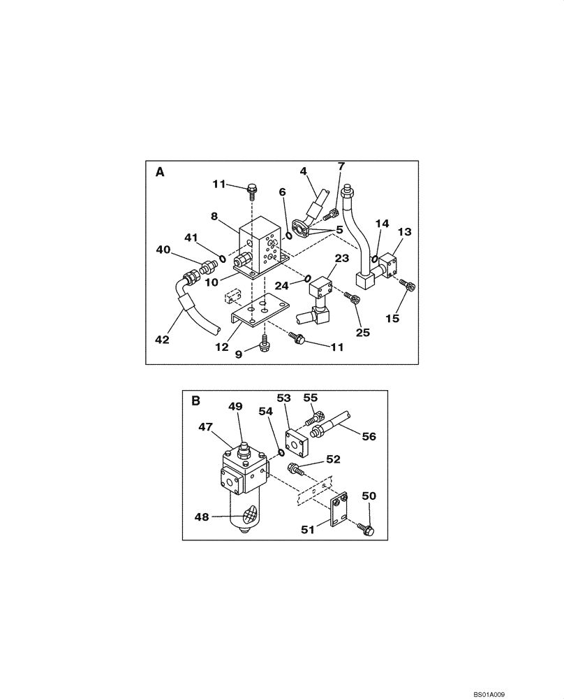
48
5
40
49
53
4
42
25
12
52
47
6
7
11
14
54
23
41
13
24
15
8
56
51
50
11
10
9
55
FIT
1:1
100%

Артикул

Название

Примечание

Количество

4

KLJ0609

HOSE ASSY.

See Figure 08-37

1шт.

5

153458A1

FLANGE

Split

2шт.

6

155210A1

O-RING

1шт.

7

862-10030

HEX SOC SCREW,M10 x 30mm, Cl 12.9

4шт.

8

KHJ1842

MANIFOLD

1шт.

9

627-10025

BOLT,Hex, M10 x 1.5 x 25mm, Cl 10.9, Full Thd

3шт.

896-11010

WASHER,11mm ID x 21mm OD x 2.5mm Thk

3шт.

10

KNJ2543

BRACKET

1шт.

11

152718A1

BOLT,Spcl, Hex Wshr, M12 x 25mm, Cl 10.9

4шт.

12

KNJ2590

BRACKET

1шт.

13

KLJ0610

HYD TUBE

See Figure 08-37

1шт.

14

154528A1

O-RING

1шт.

15

862-10055

HEX SOC SCREW,M10 x 55mm, Cl 12.9

4шт.

23

KLJ0612

HYD TUBE

See Figure 08-37

1шт.

24

154528A1

O-RING

1шт.

25

862-10055

HEX SOC SCREW,M10 x 55mm, Cl 12.9

4шт.

40

151654A1

HYD CONNECTOR,3/4" NPT O-Ring x 3/4" NPT

Incl. 41

1шт.

41

154503A1

O-RING

1шт.

42

KLJ0616

HOSE ASSY.

1шт.

47

163278A1

FILTER

Incl. 48, 49, See Figure 08-79 For All Component Parts

1шт.

48

163279A1

HYDRAULIC OIL FILTER

1шт.

49

159706A1

INDICATOR

1шт.

50

627-10020

BOLT,Hex, M10 x 1.5 x 20mm, Cl 10.9, Full Thd

2шт.

896-11010

WASHER,11mm ID x 21mm OD x 2.5mm Thk

2шт.

51

KNJ2598

BRACKET

1шт.

52

627-10020

BOLT,Hex, M10 x 1.5 x 20mm, Cl 10.9, Full Thd

2шт.

896-11010

WASHER,11mm ID x 21mm OD x 2.5mm Thk

2шт.

53

163275A1

FLANGE

Flat

1шт.

54

154569A1

O-RING

1шт.

55

862-8035

HEX SOC SCREW,M8 x 35mm, Cl 12.9

4шт.

56

KRJ6161

HYDRAULIC HOSE,19.00 mm ID x 420.00 mm

1шт.

Выбрано товаров: 31