Запчасти Case CX160 (08-39C) - HYDRAULICS, AUXILIARY - SINGLE ACTING CIRCUIT, PEDAL ACTIVATED (DAC0716849 - ) (08) - HYDRAULICS

Схема запчастей Case CX160 - (08-39C) - HYDRAULICS, AUXILIARY - SINGLE ACTING CIRCUIT, PEDAL ACTIVATED (DAC0716849 - ) (08) - HYDRAULICS
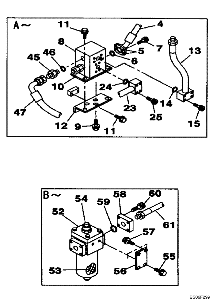
11
52
15
14
57
11
24
5
13
55
58
54
47
53
7
23
8
4
25
45
59
46
9
10
12
6
61
56
60
FIT
1:1
100%

Артикул

Название

Примечание

Количество

4

KLJ10190

HOSE ASSY.,19.00 mm ID x 750.00 mm

See Figure 08-39A

1шт.

5

153458A1

FLANGE

Split

2шт.

6

155210A1

O-RING

1шт.

7

862-10030

HEX SOC SCREW,M10 x 30mm, Cl 12.9

4шт.

8

KHJ1842

MANIFOLD

See Figure 08-92

1шт.

9

166052A1

BOLT

3шт.

10

KNJ2543

BRACKET

1шт.

11

152718A1

BOLT,Spcl, Hex Wshr, M12 x 25mm, Cl 10.9

4шт.

12

KNJ2590

BRACKET

1шт.

13

KLJ10160

HYD TUBE,20.8 mm ID x 27.2 mm OD

See Figure 08-39A

1шт.

14

154528A1

O-RING

1шт.

15

862-10055

HEX SOC SCREW,M10 x 55mm, Cl 12.9

4шт.

23

KLJ10170

HYD TUBE,20.8 mm ID x 27.2 mm OD

See Figure 08-39A

1шт.

24

154528A1

O-RING

1шт.

25

862-10055

HEX SOC SCREW,M10 x 55mm, Cl 12.9

4шт.

45

151654A1

HYD CONNECTOR,3/4" NPT O-Ring x 3/4" NPT

Incl. 46

1шт.

46

154503A1

O-RING

1шт.

47

KAJ3791

HYDRAULIC HOSE,19.00 mm ID x 430.00 mm

1шт.

52

163278A1

FILTER

Incl. 53, 54, See Figure 08-79 For All Component Parts

1шт.

53

163279A1

HYDRAULIC OIL FILTER

1шт.

54

159706A1

INDICATOR

1шт.

55

166351A1

BOLT,Sems, M10 x 20mm

2шт.

56

KNJ2598

BRACKET

1шт.

57

166351A1

BOLT,Sems, M10 x 20mm

2шт.

58

163275A1

FLANGE

Flat

1шт.

59

154569A1

O-RING

1шт.

60

862-8035

HEX SOC SCREW,M8 x 35mm, Cl 12.9

4шт.

61

KRJ6161

HYDRAULIC HOSE,19.00 mm ID x 420.00 mm

1шт.

Выбрано товаров: 28