Запчасти Case CX160 (08-48) - HYDRAULICS, AUXILIARY - SINGLE ACTING CIRCUIT, TRIGGER ACTIVATED (DAC0716101 - DAC0716848) (08) - HYDRAULICS

Схема запчастей Case CX160 - (08-48) - HYDRAULICS, AUXILIARY - SINGLE ACTING CIRCUIT, TRIGGER ACTIVATED (DAC0716101 - DAC0716848) (08) - HYDRAULICS
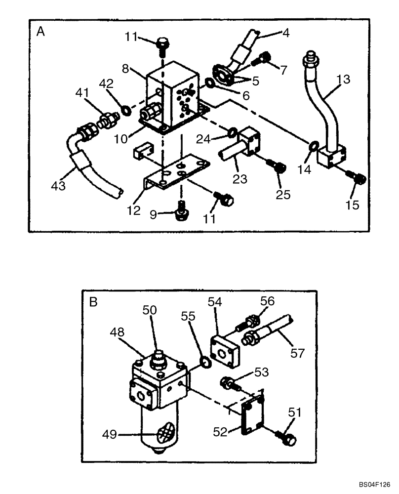
13
15
9
23
57
50
41
51
55
10
4
8
7
42
49
54
52
56
48
25
11
14
43
24
5
53
6
12
11
FIT
1:1
100%

Артикул

Название

Примечание

Количество

4

KLJ0609

HOSE ASSY.

See Figure 08-46

1шт.

5

153458A1

FLANGE

Split

2шт.

6

155210A1

O-RING

1шт.

7

862-10030

HEX SOC SCREW,M10 x 30mm, Cl 12.9

4шт.

8

KHJ1842

MANIFOLD

1шт.

9

166052A1

BOLT

3шт.

10

KNJ2543

BRACKET

1шт.

11

152718A1

BOLT,Spcl, Hex Wshr, M12 x 25mm, Cl 10.9

4шт.

12

KNJ2590

BRACKET

1шт.

13

KLJ0610

HYD TUBE

See Figure 08-46

1шт.

14

154528A1

O-RING

1шт.

15

862-10055

HEX SOC SCREW,M10 x 55mm, Cl 12.9

4шт.

23

KLJ0612

HYD TUBE

See Figure 08-46

1шт.

24

154528A1

O-RING

1шт.

25

862-10055

HEX SOC SCREW,M10 x 55mm, Cl 12.9

4шт.

41

151654A1

HYD CONNECTOR,3/4" NPT O-Ring x 3/4" NPT

Incl. 42

1шт.

42

154503A1

O-RING

1шт.

43

KLJ0616

HOSE ASSY.

See Figure 08-46

1шт.

48

163278A1

FILTER

Incl. 49, 50, See Figure 08-79 For All Component Parts

1шт.

49

163279A1

HYDRAULIC OIL FILTER

1шт.

50

159706A1

INDICATOR

1шт.

51

166351A1

BOLT,Sems, M10 x 20mm

2шт.

52

KNJ2598

BRACKET

1шт.

53

166351A1

BOLT,Sems, M10 x 20mm

2шт.

54

163275A1

FLANGE

Flat

1шт.

55

154569A1

O-RING

1шт.

56

862-8035

HEX SOC SCREW,M8 x 35mm, Cl 12.9

4шт.

57

KRJ6161

HYDRAULIC HOSE,19.00 mm ID x 420.00 mm

1шт.

Выбрано товаров: 28