Запчасти Case CX160 (08-51) - HYDRAULICS, AUXILIARY - MULTI-PURPOSE + 3 WAY VALVE, TRIGGER ACTIVATED (DAC0716101 - DAC0716848) (08) - HYDRAULICS

Схема запчастей Case CX160 - (08-51) - HYDRAULICS, AUXILIARY - MULTI-PURPOSE + 3 WAY VALVE, TRIGGER ACTIVATED (DAC0716101 - DAC0716848) (08) - HYDRAULICS
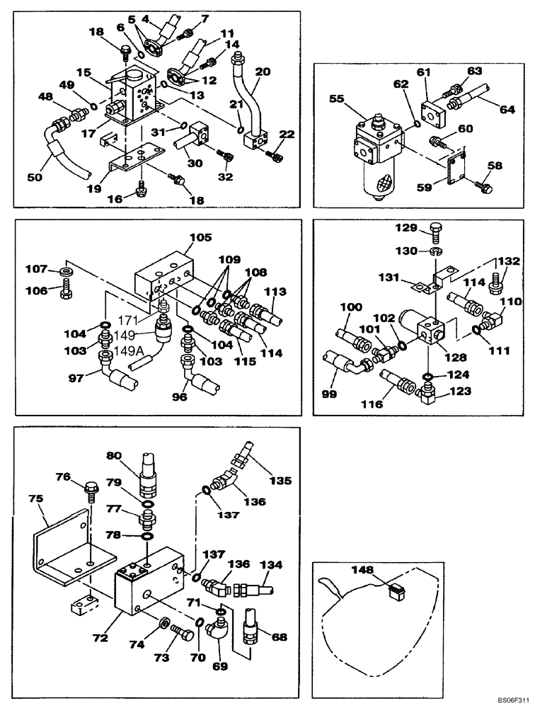
106
78
74
100
15
13
61
113
6
129
4
115
73
19
76
7
109
134
123
108
171
14
132
77
5
62
148
110
116
63
49
130
22
104
16
105
18
71
111
114
103
128
80
59
18
31
107
136
68
75
102
50
64
17
60
103
124
69
21
137
58
131
135
104
12
101
149a
30
48
55
20
11
97
137
72
149
99
32
70
79
136
114
96
FIT
1:1
100%

Артикул

Название

Примечание

Количество

4

KLJ0623

HOSE ASSY.

See Figure 08-49

1шт.

5

153458A1

FLANGE

2шт.

6

155210A1

O-RING

1шт.

7

862-10030

HEX SOC SCREW,M10 x 30mm, Cl 12.9

4шт.

11

KLJ0609

HOSE ASSY.

See Figure 08-49

1шт.

12

153458A1

FLANGE

2шт.

13

155210A1

O-RING

1шт.

14

862-10030

HEX SOC SCREW,M10 x 30mm, Cl 12.9

4шт.

15

KHJ1610

VALVE

Direction, See Figure 08-67A

1шт.

16

166052A1

BOLT

M10 x 25; 10.9

3шт.

17

KNJ2543

BRACKET

1шт.

18

152718A1

BOLT,Spcl, Hex Wshr, M12 x 25mm, Cl 10.9

4шт.

19

KNJ2590

BRACKET

1шт.

20

KLJ0610

HYD TUBE

1шт.

21

154528A1

O-RING

1шт.

22

862-10055

HEX SOC SCREW,M10 x 55mm, Cl 12.9

4шт.

30

KLJ0612

HYD TUBE

1шт.

31

154528A1

O-RING

1шт.

32

862-10055

HEX SOC SCREW,M10 x 55mm, Cl 12.9

4шт.

48

151654A1

HYD CONNECTOR,3/4" NPT O-Ring x 3/4" NPT

Incl. 49

1шт.

49

154503A1

O-RING

1шт.

50

KLJ0616

HOSE ASSY.

See Figure 08-49

1шт.

55

163278A1

FILTER

See Figure 08-79

1шт.

58

166351A1

BOLT,Sems, M10 x 20mm

2шт.

59

KNJ2598

BRACKET

1шт.

60

166351A1

BOLT,Sems, M10 x 20mm

2шт.

61

163275A1

FLANGE

1шт.

62

154569A1

O-RING

1шт.

63

862-8035

HEX SOC SCREW,M8 x 35mm, Cl 12.9

4шт.

64

KRJ6161

HYDRAULIC HOSE,19.00 mm ID x 420.00 mm

See Figure 08-49

1шт.

68

KLJ0581

HOSE ASSY.,15.90 mm ID x 600.00 mm

See Figure 08-50

1шт.

69

KHJ1804

ELBOW

Incl. 70

1шт.

70

154503A1

O-RING

1шт.

71

KHJ1360

O-RING,0.07" Thk x 0.739" ID

1шт.

72

KHJ1473

VALVE

See Figure 08-69

1шт.

73

827-10080

BOLT,Hex, M10 x 1.5 x 80mm, Cl 10.9

2шт.

74

150409A1

WASHER

2шт.

75

KNJ2604

BRACKET

1шт.

76

152718A1

BOLT,Spcl, Hex Wshr, M12 x 25mm, Cl 10.9

2шт.

77

KHJ1348

ADAPTER

Incl. 78

1шт.

78

154503A1

O-RING

1шт.

79

KHJ1360

O-RING,0.07" Thk x 0.739" ID

1шт.

80

KNJ2601

HYDRAULIC HOSE,15.90 mm ID x 880.00 mm

See Figure 08-49

1шт.

96

159009A1

HOSE ASSY.

2600 mm (102-3/8 in); See Figure 08-50

1шт.

97

162193A1

HOSE ASSY.

2900 mm (114-3/16 in); See Figure 08-50

1шт.

99

167352A1

HOSE,2500.00 mm

See Figure 08-50

1шт.

100

159235A1

HYDRAULIC HOSE

See Figure 08-50, 850 mm (KRJ3572)

1шт.

101

159497A1

TEE

Incl. 102

1шт.

102

154467A1

O-RING,10.8mm ID x 2.4mm Width

1шт.

103

152127A1

HYD CONNECTOR,1/4" NPT O-Ring x 1/4" NPT

Incl. 104

2шт.

104

154467A1

O-RING,10.8mm ID x 2.4mm Width

1шт.

105

KHJ17100

VALVE PRESSURE RELIE

; Replaces KHJ1655

1шт.

106

827-8055

BOLT,Hex, M8 x 1.25 x 55mm, Cl 10.9

2шт.

107

153081A1

WASHER

2шт.

108

152127A1

HYD CONNECTOR,1/4" NPT O-Ring x 1/4" NPT

Incl. 109

3шт.

109

154467A1

O-RING,10.8mm ID x 2.4mm Width

1шт.

110

150913A1

ELBOW,90 Degree, 1/4" O-Ring x 1/4"

Incl. 111

1шт.

111

154467A1

O-RING,10.8mm ID x 2.4mm Width

1шт.

113

158130A1

HOSE,6.3mm ID x 1350mm L

See Figure 08-50

1шт.

114

161272A1

HOSE

See Figure 08-50

1шт.

115

157839A1

HOSE,6.3 mm ID x 3900.00 mm

See Figure 08-50

1шт.

116

157853A1

HOSE,6.3 mm ID x 2050.00 mm

See Figure 08-50

1шт.

123

150913A1

ELBOW,90 Degree, 1/4" O-Ring x 1/4"

Incl. 124

1шт.

124

154467A1

O-RING,10.8mm ID x 2.4mm Width

1шт.

128

162538A1

VALVE

See Figures 08-50, 08-64

1шт.

129

627-6012

BOLT,Hex, M6 x 1 x 12mm, Cl 10.9, Full Thd

2шт.

130

892-11006

LOCK WASHER,M6

2шт.

131

KRJ5751

BRACKET

1шт.

132

166346A1

BOLT,Sems, M10

2шт.

134

152514A1

HOSE,63mm ID x 1000mm L

See Figure 08-50

1шт.

135

153398A1

HOSE ASSY.

See Figure 08-50

1шт.

136

150933A1

ELBOW

Incl. 137

2шт.

137

154467A1

O-RING,10.8mm ID x 2.4mm Width

1шт.

148

KHR2948

SWITCH

1шт.

149

159599A1

PRESSURE SWITCH

No Longer Used, For Service Order KHR10790, Ref 149A And KHJ11460, Ref 171

1шт.

149a

KHR10790

PRESSURE SWITCH

No Longer Used, For Service Order KHR24000. Ref 149A and KHJ11460, Ref 171 (If not Installed)

1шт.

149a

KHR24000

PRESSURE SWITCH

1шт.

150

KHR3329

HARNESS

1шт.

144

156559A1

BOLT,High Strength, Hex, M6 x 12mm, W/ LW

3шт.

145

150860A1

COLLAR

1шт.

146

840-168

SCREW,Pan, M6 x 1 x 8mm, Cl 4.8

1шт.

147

150496A1

MOUNTING CLIP

250 mm (10 in)

1шт.

170

150067A1

MOUNTING CLIP

Not Illustrated

1шт.

171

KHJ11460

ADAPTER

Used With Ref 149A

1шт.

Выбрано товаров: 84