Запчасти Case CX160 (08-55A) - MOUNTING - SWING MOTOR; P.I.N. DAC0716372 - (08) - HYDRAULICS

Схема запчастей Case CX160 - (08-55A) - MOUNTING - SWING MOTOR; P.I.N. DAC0716372 - (08) - HYDRAULICS
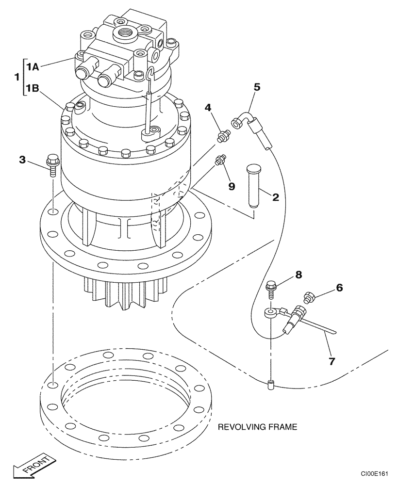
9
5
6
1b
3
2
7
1a
4
8
1
FIT
1:1
100%

Артикул

Название

Примечание

Количество

1

KLC0024

MOTO-REDUCTION GEAR

Incl. 1A, 1B, Replaces 169325A1

1шт.

1a

LJ01138

MOTOR, HYDRAULIC

See Figure 08-56

1шт.

1b

LN00112

GEAR REDUCTION UNIT

See Figure 8-57A

1шт.

2

158955A1

HEADED PIN

1шт.

3

827-20075

BOLT,Hex, M20 x 2.5 x 75mm, Cl 10.9, Full Thd

11шт.

896-11020

WASHER,22mm ID x 37mm OD x 4mm Thk

11шт.

4

153596A1

ADAPTER

1шт.

5

KHJ1193

HYDRAULIC HOSE,9.52 mm ID x 450.00 mm

1шт.

6

KHP0501

PLUG

1шт.

7

KHR2583

CLAMP

1шт.

8

159602A1

BOLT,Sems, Hex, M6 x 16mm

1шт.

9

153630A1

LUBE NIPPLE

1шт.

Выбрано товаров: 12