Запчасти Case CX160 (08-57A) - GEAR ASSY, REDUCTION - MOTOR, SWING; P.I.N. DAC0716372 - (08) - HYDRAULICS

Схема запчастей Case CX160 - (08-57A) - GEAR ASSY, REDUCTION - MOTOR, SWING; P.I.N. DAC0716372 - (08) - HYDRAULICS
20
11
7
16
13
5
9
17
26
1
12
4
15
3
2
25
18
19
22
23
8
6
24
14
10
21
FIT
1:1
100%

Артикул

Название

Примечание

Количество

LN00112

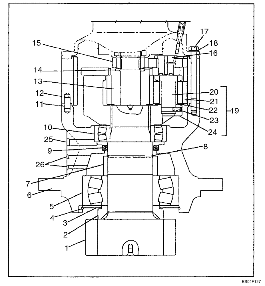
GEAR REDUCTION UNIT

Incl. 1 - 26

1шт.

1

LC00235

GEAR SHAFT

1шт.

2

160548A1

COLLAR

1шт.

3

156356A1

PLATE

1шт.

4

155685A1

RING, SNAP

RING SNAP

1шт.

5

156157A1

BEARING, ROLLER,110mm ID x 215mm OD x 73mm W

1шт.

6

LW00402

HOUSING

1шт.

7

LH00337

COLLAR

1шт.

8

155686A1

RING, SNAP

RING SNAP

1шт.

9

155107A1

OIL SEAL

1шт.

10

160611A1

BEARING, ROLLER,90mm ID x 160mm OD x 40mm W

1шт.

11

155621A1

COTTER PIN

1шт.

12

LC00221

RING GEAR

1шт.

13

160520A1

GEAR

1шт.

14

LKM0108

PLATE

1шт.

15

161806A1

SUN GEAR

1шт.

16

LS00237

HOLDER

1шт.

17

LA00069

BOLT

16шт.

18

892-10012

LOCK WASHER,M12

16шт.

19

168437A1

HOLDER

Incl. 20 - 24

1шт.

20

LB00758

SHAFT

3шт.

21

LC00149

PLANETARY GEAR

3шт.

22

155383A1

WASHER, THRUST

3шт.

23

LA00068

DOWEL

1шт.

24

LS00190

HOLDER

3шт.

25

151030A1

PLUG

1шт.

26

LK00053

PLUG

2шт.

Выбрано товаров: 27