Запчасти Case CX160 (08-61) - VALVE ASSY - CONTROL (08) - HYDRAULICS

Схема запчастей Case CX160 - (08-61) - VALVE ASSY - CONTROL (08) - HYDRAULICS
48
12
16
6
70
10
70
2
5
44
19
44
40
71
74
6
43
47
8
22
42
46
11
11
24
35
46
40
17
47
48
72
44
6
35
4
6
13
56
69
15
7
9
18
20
47
6
46
16
75
44
14
73
3
21
41
FIT
1:1
100%

Артикул

Название

Примечание

Количество

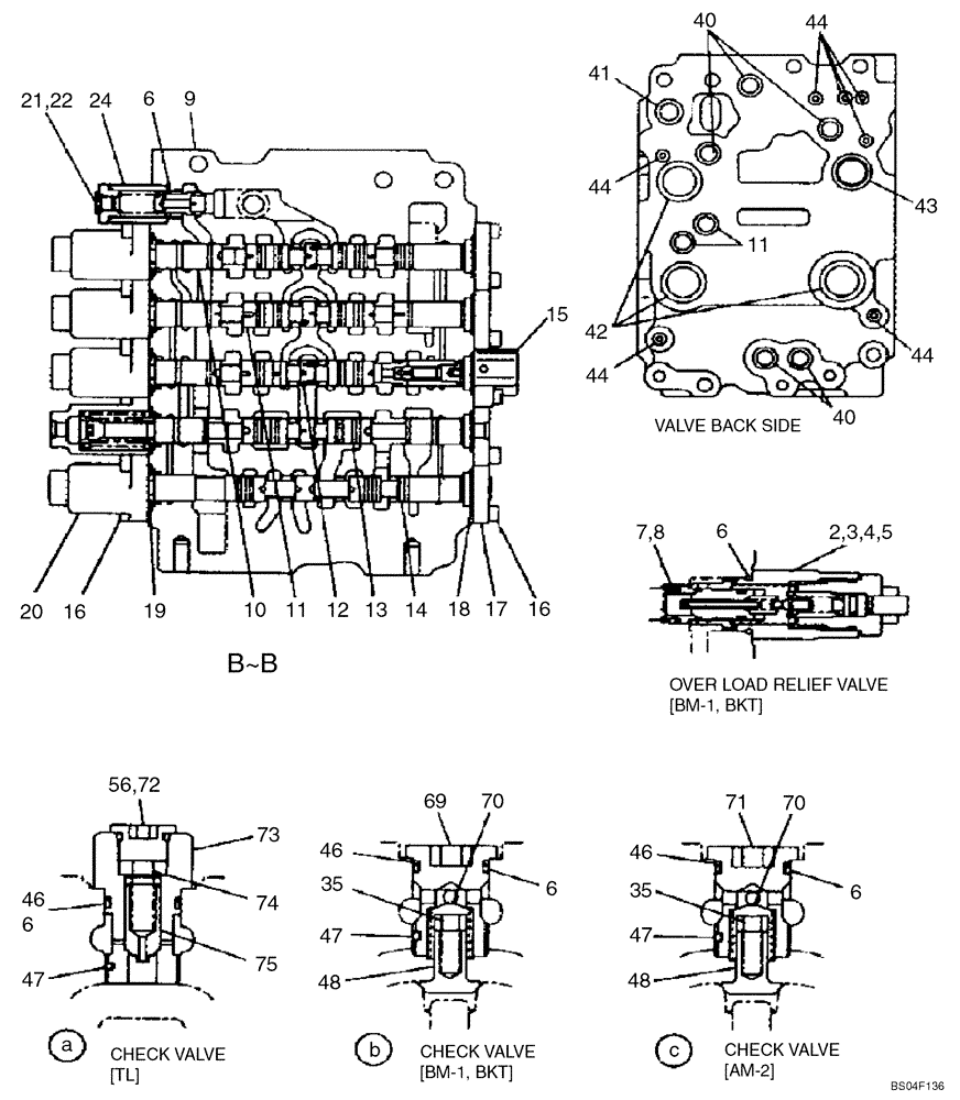
KLJ0650

VALVE, CONTROL

Includes All Parts On Figures 08-60 - 08-63

1шт.

2

LJ00704

POPPET

Incl. 3 - 5; Overload Relief Valve

4шт.

3

154495A1

O-RING

1шт.

4

154402A1

BACK-UP RING

1шт.

5

155063A1

O-RING

1шт.

6

154495A1

O-RING

10шт.

7

154402A1

BACK-UP RING

4шт.

8

155063A1

O-RING

4шт.

9

NSS

NOT SOLD SEPARAT

Housing

1шт.

10

NSS

NOT SOLD SEPARAT

Spool

1шт.

11

NSS

NOT SOLD SEPARAT

Spool

1шт.

12

NSS

NOT SOLD SEPARAT

Spool

1шт.

13

NSS

NOT SOLD SEPARAT

Spool

1шт.

14

NSS

NOT SOLD SEPARAT

Spool

1шт.

15

LW00311

COVER

1шт.

16

163887A1

BOLT,Hex Skt

20шт.

17

160850A1

RETAINER

4шт.

18

160805A1

O-RING

5шт.

19

160806A1

O-RING

5шт.

20

LW00312

COVER

5шт.

21

160306A1

CAP

1шт.

22

154467A1

O-RING,10.8mm ID x 2.4mm Width

1шт.

24

LJ01232

VALVE, PRESSURE RELI

EF

1шт.

35

156027A1

SPRING

4шт.

40

154487A1

O-RING

5шт.

41

154499A1

O-RING

1шт.

42

LBQ6222

O-RING

3шт.

43

154543A1

O-RING

1шт.

44

154463A1

O-RING

8шт.

46

153976A1

BACK-UP RING

4шт.

47

155295A1

BALL

4шт.

48

155911A1

VALVE

3шт.

56

154475A1

O-RING

1шт.

69

160918A1

CAP

2шт.

70

155920A1

VALVE, CHECK

3шт.

71

LR01104

CAP

1шт.

72

156263A1

CAP

1шт.

73

LR00561

CAP

1шт.

74

160947A1

SPRING

1шт.

75

LJ00705

CHECK VALVE

1шт.

Выбрано товаров: 40