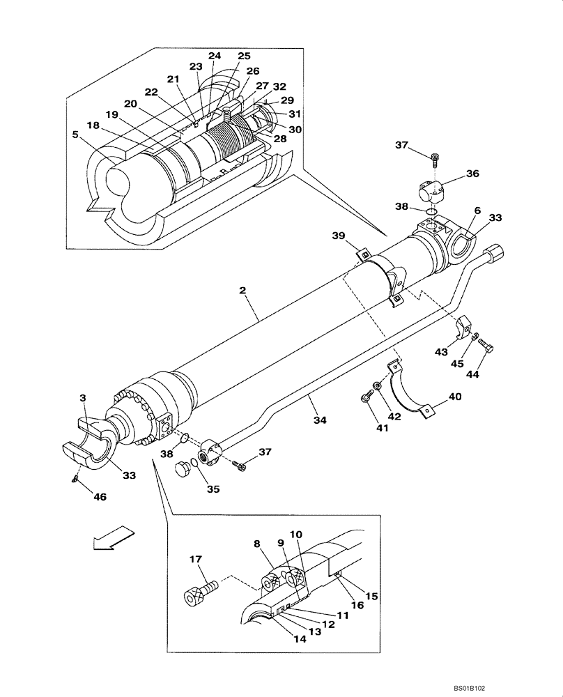
Запчасти Case CX160 (08-75) - CYLINDER ASSY, ARM - MODELS WITHOUT LOAD HOLD (08) - HYDRAULICS

Схема запчастей Case CX160 - (08-75) - CYLINDER ASSY, ARM - MODELS WITHOUT LOAD HOLD (08) - HYDRAULICS
17
14
20
12
45
37
33
25
34
6
5
3
18
10
35
40
31
23
8
15
41
44
39
19
38
38
28
11
24
29
33
42
32
9
26
16
30
27
13
46
36
2
21
43
37
22
FIT
1:1
100%

Артикул

Название

Примечание

Количество

KLV0308

HYDRAULIC CYLINDER

Arm, Incl. 2 - 46

1шт.

LR00692

HYD CYL SLEEVE

Incl. 2, 3

1шт.

2

NSS

NOT SOLD SEPARAT

Tube, Cylinder

1шт.

3

LB00656

BUSHING

1шт.

LB00657

PISTON ROD

Incl. 5, 6

1шт.

5

NSS

NOT SOLD SEPARAT

Rod, Piston

1шт.

6

LB00656

BUSHING

1шт.

LU002070

CYLINDER END CAP

Incl. 8 - 10

1шт.

8

NSS

NOT SOLD SEPARAT

Gland, Cylinder

1шт.

9

160050A1

BUSHING

1шт.

10

155713A1

RING, SNAP

RING SNAP

1шт.

11

LE00479

RING

1шт.

12

158847A1

RING

1шт.

13

155249A1

BACK-UP RING

1шт.

14

161877A1

BACK-UP RING

1шт.

15

154761A1

O-RING,119.4mm ID x 3.1mm Width

1шт.

16

155240A1

BACK-UP RING

1шт.

17

161059A1

BOLT,Hex Skt, M16 x 70mm, Cl 12.9

12шт.

18

161878A1

BUSHING

1шт.

19

LE00707

RING

Cushion

1шт.

20

160570A1

PISTON

1шт.

21

155311A1

SEALING RING

1шт.

22

160509A1

BACK-UP RING

2шт.

23

LE00708

SCRAPER RING

2шт.

24

155306A1

SEALING RING

2шт.

25

155737A1

SHIM

1шт.

26

LA00711

NUT

1шт.

27

156223A1

SET SCREW

1шт.

28

155977A1

BALL

1шт.

29

161879A1

RING

1шт.

30

LE00690

SEAL

Cushion

1шт.

31

160556A1

STOP

2шт.

32

161926A1

RING, SNAP

RING SNAP

1шт.

33

160483A1

BACK-UP RING

4шт.

34

LR00694

TUBE ASSY.

Incl. 35

1шт.

35

154503A1

O-RING

1шт.

36

161893A1

JOINT

1шт.

37

160301A1

BOLT

8шт.

38

154543A1

O-RING

2шт.

39

LD00066

CLAMP BRACKET

1шт.

40

156374A1

MOUNTING CLIP

1шт.

41

158131A1

BOLT,High Strength, M10 x 1.5 x 35mm, Cl 10.9

2шт.

42

156227A1

WASHER

2шт.

43

155717A1

COLLAR

1шт.

44

827-12050

BOLT,Hex, M12 x 1.75 x 50mm, Cl 10.9

Replaces LA00563

1шт.

45

892-10012

LOCK WASHER,M12

1шт.

46

153912A1

LUBE NIPPLE,90 Degree, 1/8"-27 NPT x 21.5mm lg

1шт.

LZ00452

SEAL KIT

Incl. 11 - 16, 19, 21 - 24

1шт.

Выбрано товаров: 48