Запчасти Case CX160 (08-79) - FILTER ASSY (08) - HYDRAULICS

Схема запчастей Case CX160 - (08-79) - FILTER ASSY (08) - HYDRAULICS
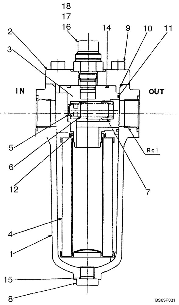
3
7
4
6
18
17
16
10
12
14
8
1
5
2
11
9
15
FIT
1:1
100%

Артикул

Название

Примечание

Количество

163278A1

FILTER

Incl. 1 - 18

1шт.

1

NSS

NOT SOLD SEPARAT

Body

1шт.

2

NSS

NOT SOLD SEPARAT

Cover

1шт.

3

NSS

NOT SOLD SEPARAT

Inlet

1шт.

4

163279A1

HYDRAULIC OIL FILTER

Oil Filter

1шт.

5

NSS

NOT SOLD SEPARAT

Relief Valve

1шт.

6

NSS

NOT SOLD SEPARAT

Spring

1шт.

7

NSS

NOT SOLD SEPARAT

Spring Holder

1шт.

8

NSS

NOT SOLD SEPARAT

Drain Plug

1шт.

9

NSS

NOT SOLD SEPARAT

Cap Bolt

4шт.

10

154679A1

O-RING

1шт.

11

154567A1

O-RING

1шт.

12

154538A1

O-RING

1шт.

14

154567A1

O-RING

1шт.

15

154474A1

O-RING

1шт.

16

154487A1

O-RING

1шт.

17

154474A1

O-RING

1шт.

18

159706A1

INDICATOR

1шт.

Выбрано товаров: 18