Запчасти Case CX160 (08-91) - KLJ0653 PUMP ASSY, HYDRAULIC (08) - HYDRAULICS

Схема запчастей Case CX160 - (08-91) - KLJ0653 PUMP ASSY, HYDRAULIC (08) - HYDRAULICS
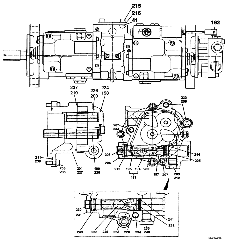
224
203
222
198
204
233
41
235
208
195
236
234
238
193
201
229
194
223
215
237
209
206
239
226
199
197
192
207
228
202
227
231
207
216
200
211
214
230
225
234
212
205
213
210
240
232
241
FIT
1:1
100%

Артикул

Название

Примечание

Количество

KLJ0653

PUMP, HYDRAULIC

Includes All Parts on Figures 08-88 - 08-91

1шт.

87341976

REMAN-HYD PUMP

Remanufactured, HYDRAULIC PUMP, For N.A. Only

1шт.

87341977

CORE-HYDRAULIC PUMP

Return Number, For N.A. Only

1шт.

41

154713A1

O-RING

1шт.

192

LJ01072

HYDRAULIC PUMP

Incl. 193 - 214, Start Serial: DAC0716270

1шт.

193

LNP0221

VALVE POPPET

Incl. 194, 195

1шт.

194

NSS

NOT SOLD SEPARAT

Poppet

1шт.

195

NSS

NOT SOLD SEPARAT

Bar, Base

1шт.

LC00229

GEAR

Incl. 197 - 214

1шт.

197

NSS

NOT SOLD SEPARAT

Seat

1шт.

198

NSS

NOT SOLD SEPARAT

Case, Gear

1шт.

199

NSS

NOT SOLD SEPARAT

Gear

1шт.

200

NSS

NOT SOLD SEPARAT

Gear

1шт.

201

NSS

NOT SOLD SEPARAT

Case

1шт.

202

160593A1

SPRING

1шт.

203

LV00027

SCREW,Spcl

1шт.

204

163662A1

LOCK NUT

1шт.

205

163663A1

FILTER

1шт.

206

163664A1

FLANGE BOLT,Hex Skt, M8 x 50mm

2шт.

207

163665A1

FLANGE BOLT,Hex Skt, M8 x 60mm

2шт.

208

LA00872

BOLT,Spcl

4шт.

209

155496A1

PLUG

1шт.

210

163667A1

SEALING RING

1шт.

211

154697A1

O-RING

1шт.

212

154467A1

O-RING,10.8mm ID x 2.4mm Width

1шт.

213

154483A1

O-RING

1шт.

214

163668A1

RING, LOCKING

RING, LOCK

1шт.

215

108R010Y016R

BOLT

4шт.

216

LW00397

COVER

1шт.

LJ01268

VALVE BODY

Incl. 221 - 241

1шт.

221

LC00257

GEAR

Incl. 222 - 227

1шт.

222

NSS

NOT SOLD SEPARAT

Poppet

1шт.

223

NSS

NOT SOLD SEPARAT

Seat

1шт.

224

NSS

NOT SOLD SEPARAT

Case, Gear

1шт.

225

NSS

NOT SOLD SEPARAT

Gear

1шт.

226

NSS

NOT SOLD SEPARAT

Gear

1шт.

227

NSS

NOT SOLD SEPARAT

Case

1шт.

228

LE01175

RING

1шт.

229

LG00536

SPRING

1шт.

230

LF00043

ADJUSTER

1шт.

231

163662A1

LOCK NUT

1шт.

232

163663A1

FILTER

1шт.

233

163664A1

FLANGE BOLT,Hex Skt, M8 x 50mm

2шт.

234

163665A1

FLANGE BOLT,Hex Skt, M8 x 60mm

2шт.

235

LA00872

BOLT,Spcl

4шт.

236

155496A1

PLUG

1шт.

237

163667A1

SEALING RING

1шт.

238

154697A1

O-RING

1шт.

239

154467A1

O-RING,10.8mm ID x 2.4mm Width

1шт.

240

154483A1

O-RING

1шт.

241

163668A1

RING, LOCKING

RING, LOCK

1шт.

Выбрано товаров: 51