Запчасти Case CX160 (08-92) - MANIFOLD ASSY (08) - HYDRAULICS

Схема запчастей Case CX160 - (08-92) - MANIFOLD ASSY (08) - HYDRAULICS
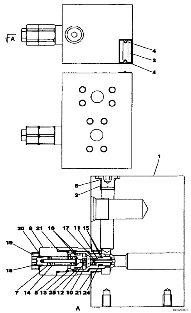
3
4
24
10
1
20
4
18
14
13
17
7
25
12
21
9
15
19
5
8
21
16
11
2
FIT
1:1
100%

Артикул

Название

Примечание

Количество

KHJ1842

MANIFOLD

Incl. 1 - 25

1шт.

1

LR00547

VALVE BODY

Body

1шт.

2

NSS

NOT SOLD SEPARAT

Plate

1шт.

3

155515A1

PLUG

3/8 PF

1шт.

4

NSS

NOT SOLD SEPARAT

Rivet

2шт.

5

154475A1

O-RING

1шт.

KHJ15850

VALVE PRESSURE RELIE

Incl. 7 - 25, Replaces LJ00682

1шт.

7

NSS

NOT SOLD SEPARAT

Spring, Compression

1шт.

8

NSS

NOT SOLD SEPARAT

Adapter

1шт.

9

NSS

NOT SOLD SEPARAT

Body

1шт.

10

NSS

NOT SOLD SEPARAT

Poppet, Valve

1шт.

11

NSS

NOT SOLD SEPARAT

Poppet, Valve

1шт.

12

NSS

NOT SOLD SEPARAT

Spring

1шт.

13

NSS

NOT SOLD SEPARAT

Spring

1шт.

14

NSS

NOT SOLD SEPARAT

Valve, Check

1шт.

15

NSS

NOT SOLD SEPARAT

Ring, Backup

2шт.

16

NSS

NOT SOLD SEPARAT

Ring, Backup

2шт.

17

NSS

NOT SOLD SEPARAT

Pin

1шт.

18

NSS

NOT SOLD SEPARAT

Screw

1шт.

19

165150A1

NUT

M12

1шт.

20

154463A1

O-RING

1шт.

21

155223A1

O-RING

2шт.

24

154457A1

O-RING

1шт.

25

154481A1

O-RING

1шт.

Выбрано товаров: 24