Запчасти Case CX160 (03-09) - FUEL FILLING (03) - FUEL SYSTEM

Схема запчастей Case CX160 - (03-09) - FUEL FILLING (03) - FUEL SYSTEM
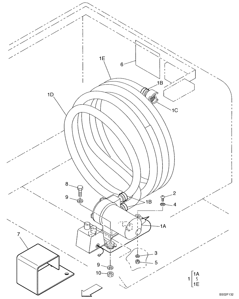
2
1
5
4
1e
1a
1b
1c
10
3
8
6
1d
9
9
7
1e
1a
1b
FIT
1:1
100%

Артикул

Название

Примечание

Количество

1

166193A1

FEED PUMP

Incl. 1A - 1E

1шт.

1a

166233A1

FUEL PUMP

1шт.

1b

157726A1

CLIP

Replaces 157709A1

3шт.

1c

166192A1

FILTER STRAINER

1шт.

1d

166196A1

FUEL HOSE,2000.00 mm

1шт.

1e

166197A1

FUEL HOSE,4000.00 mm

1шт.

2

840-1516

SCREW,Pan, M5 x 16mm, Cl 4.8

1шт.

3

892-11005

LOCK WASHER,M5

1шт.

4

893-11005

LOCK WASHER,Ext Tooth, M5

1шт.

5

825-1405

NUT,M5, Cl 8

1шт.

6

168103A1

DECAL

1шт.

7

169043A1

PROTECTOR

1шт.

9

153081A1

WASHER

6шт.

10

829-1408

NUT,Hex, M8 x 1.25, Cl 10.9

3шт.

8

827-8035

BOLT,Hex, M8 x 1.25 x 35mm, Cl 10.9

3шт.

Выбрано товаров: 0