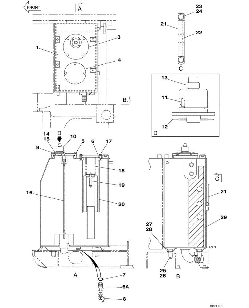
Запчасти Case CX160 (08-01A) - HYDRAULIC RESERVOIR - P.I.N. DAC0716270 - (08) - HYDRAULICS

Схема запчастей Case CX160 - (08-01A) - HYDRAULIC RESERVOIR - P.I.N. DAC0716270 - (08) - HYDRAULICS
4
26
1
17
29
10
3
18
20
19
15
9
6
6a
27
5
21
28
8
11
25
14
12
21
13
7
16
24
23
22
FIT
1:1
100%

Артикул

Название

Примечание

Количество

KNJ3047

TANK, HYDRAULIC OIL

Incl. 1 - 6

1шт.

1

NSS

NOT SOLD SEPARAT

Tank

1шт.

3

KNJ2553

COVER

1шт.

4

161154A1

COVER

1шт.

5

154829A1

O-RING

1шт.

6

154776A1

O-RING

1шт.

6b

159279A1

SOCKET

Incl. 7

1шт.

7

154503A1

O-RING

1шт.

8

150962A1

COCK, DRAIN

1шт.

9

166347A1

BOLT,Sems, M10 x 30mm

4шт.

10

KHJ1491

BREATHER

Incl. 11 - 13

1шт.

11

159702A1

HYDRAULIC OIL FILTER

Filter

1шт.

12

159703A1

GASKET

1шт.

13

KHJ1492

CAP

1шт.

14

862-6016

HEX SOC SCREW,M6 x 16mm, Cl 12.9

4шт.

15

892-11006

LOCK WASHER,M6

4шт.

16

KNJ2555

HYDRAULIC OIL FILTER

1шт.

17

166052A1

BOLT

4шт.

18

KNJ2569

SPRING

1шт.

19

153191A1

VALVE

1шт.

20

KNJ2567

HYDRAULIC OIL FILTER

1шт.

21

163560A1

SIGHTGLASS

Incl. 22 - 24

1шт.

22

163561A1

GAUGE

1шт.

23

159492A1

BOLT

2шт.

24

159493A1

SEALING WASHER

SEAL WASHER

4шт.

25

827-16070

BOLT,Hex, M16 x 2 x 70mm, Cl 10.9

4шт.

26

153357A1

SPACER

4шт.

27

150166A1

SHIM

0,80 mm (0,032 in)

1шт.

28

150479A1

SHIM

2,00 mm (0,079 in)

1шт.

29

KNJ2568

SEAL

1шт.

Выбрано товаров: 30