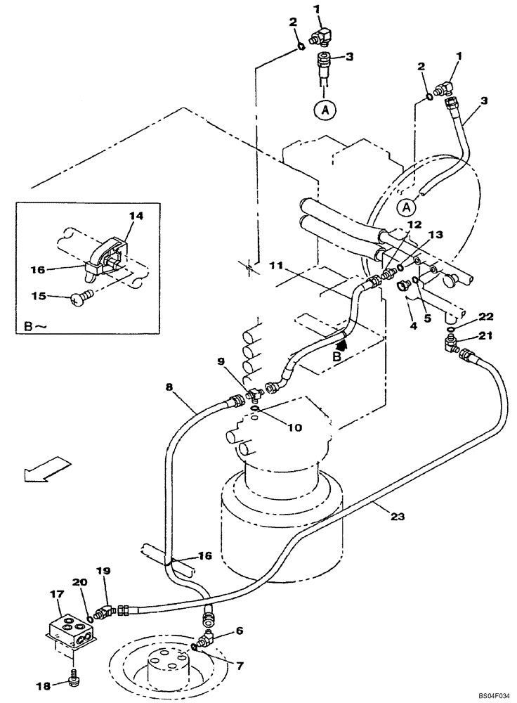
Запчасти Case CX160 (08-08A) - HYDRAULICS - DRAIN LINE, MODELS WITH LOAD HOLD; P.I.N. DAC0716270 - DAC0716594 (08) - HYDRAULICS

Схема запчастей Case CX160 - (08-08A) - HYDRAULICS - DRAIN LINE, MODELS WITH LOAD HOLD; P.I.N. DAC0716270 - DAC0716594 (08) - HYDRAULICS
10
17
9
16
13
22
12
23
6
5
1
4
3
8
19
1
2
7
14
15
3
2
18
11
16
20
21
FIT
1:1
100%

Артикул

Название

Примечание

Количество

1

150919A1

ELBOW,90 Degree, 1/2" O-Ring x 1/2"

Incl. 2

2шт.

2

154487A1

O-RING

1шт.

3

KLJ0646

HYDRAULIC HOSE,12.70 mm ID x 980.00 mm

1шт.

4

162557A1

PLUG

Incl. 5

1шт.

5

154475A1

O-RING

1шт.

6

157585A1

ELBOW

Incl. 7

1шт.

7

154487A1

O-RING

1шт.

8

KRV1998

HYDRAULIC HOSE,12.70 mm ID x 850.00 mm

1шт.

9

KHJ1157

TEE

Incl. 10

1шт.

10

154475A1

O-RING

1шт.

11

KLJ0534

HOSE ASSY.

1шт.

12

151650A1

HYD CONNECTOR,1/2" NPT O-Ring x 1/2" NPT

Incl. 13

1шт.

13

154487A1

O-RING

1шт.

14

150860A1

COLLAR

1шт.

15

840-168

SCREW,Pan, M6 x 1 x 8mm, Cl 4.8

1шт.

16

150496A1

MOUNTING CLIP

3шт.

17

KRJ6438

MANIFOLD VALVE

1шт.

18

627-10020

BOLT,Hex, M10 x 1.5 x 20mm, Cl 10.9, Full Thd

2шт.

896-11010

WASHER,11mm ID x 21mm OD x 2.5mm Thk

2шт.

19

157585A1

ELBOW

Incl. 20

1шт.

20

154487A1

O-RING

1шт.

21

150919A1

ELBOW,90 Degree, 1/2" O-Ring x 1/2"

Incl. 22

1шт.

22

154487A1

O-RING

1шт.

23

KRJ6431

HYDRAULIC HOSE,12.70 mm ID x 1700.00 mm

1шт.

Выбрано товаров: 24