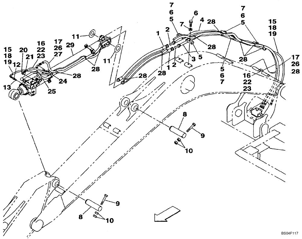
Запчасти Case CX160 (08-15) - HYDRAULICS - ARM CYLINDER, MODELS WITH LOAD HOLD (08) - HYDRAULICS

Схема запчастей Case CX160 - (08-15) - HYDRAULICS - ARM CYLINDER, MODELS WITH LOAD HOLD (08) - HYDRAULICS
7
6
9
5
27
23
2
26
22
4
7
5
5
28
24
28
15
9
21
16
6
5
11
8
28
3
28
5
13
29
11
23
18
18
19
6
7
1
15
25
26
2
1
12
6
17
28
28
17
28
10
10
19
22
20
28
8
20
FIT
1:1
100%

Артикул

Название

Примечание

Количество

1

KRV2405

HYDRAULIC HOSE,19mm ID x 1000mm L

2шт.

2

KHJ1360

O-RING,0.07" Thk x 0.739" ID

2шт.

3

KLV0387

TUBE ASSY.,20.8 mm ID x 27.2 mm OD

1шт.

4

KLV0314

HYD TUBE,20.8 mm ID x 27.2 mm OD

1шт.

5

159742A1

COLLAR

5шт.

6

827-16070

BOLT,Hex, M16 x 2 x 70mm, Cl 10.9

5шт.

7

150814A1

WASHER,17mm ID x 32mm OD x 4.5mm Thk

5шт.

8

KLV0312

PIN

2шт.

9

514-1222

BOLT,Hex, M20 x 1.5 x 170mm, Cl 10.9

2шт.

10

829-11420

NUT,M20 x 1.5, Cl 10

4шт.

11

159741A1

SHIM

1шт.

12

150916A1

ELBOW,90 Degree, 3/8" O-Ring x 3/8"

Incl. 13

1шт.

13

154475A1

O-RING

1шт.

15

KRV3035

HYDRAULIC HOSE,9.50 mm ID x 6400.00 mm

1шт.

16

KHJ1481

HYDRAULIC HOSE,9.52 mm ID x 6100.00 mm

1шт.

17

163723A1

HYDRAULIC HOSE,12.70 mm ID x 6100.00 mm

1шт.

18

168873A1

PLASTIC-RUBBER TUBE

1шт.

19

150067A1

MOUNTING CLIP

4шт.

20

150916A1

ELBOW,90 Degree, 3/8" O-Ring x 3/8"

Incl. 21

1шт.

21

154475A1

O-RING

1шт.

22

168873A1

PLASTIC-RUBBER TUBE

1шт.

23

150067A1

MOUNTING CLIP

1шт.

24

150919A1

ELBOW,90 Degree, 1/2" O-Ring x 1/2"

Incl. 25

1шт.

25

154487A1

O-RING

1шт.

26

168879A1

PLASTIC-RUBBER TUBE

1шт.

28

150067A1

MOUNTING CLIP

1шт.

29

KLV0353

HYDRAULIC CYLINDER

Arm, Models With Load Hold, See Figure 08-76

1шт.

Выбрано товаров: 0