Запчасти Case CX160 (08-16) - HYDRAULICS - ARM CYLINDER, MODELS WITH LOAD HOLD (08) - HYDRAULICS

Схема запчастей Case CX160 - (08-16) - HYDRAULICS - ARM CYLINDER, MODELS WITH LOAD HOLD (08) - HYDRAULICS
38
31
46
44
33
35
29
30
38
32
39
47
43
49
41
40
37
48
42
34
45
FIT
1:1
100%

Артикул

Название

Примечание

Количество

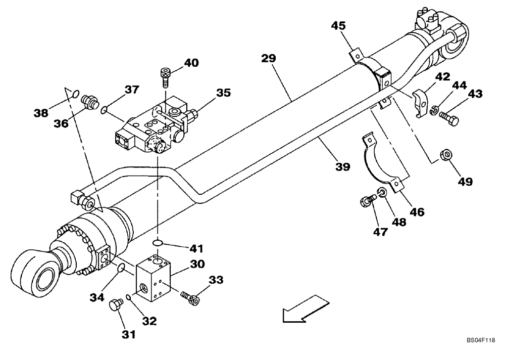
29

KLV0353

HYDRAULIC CYLINDER

Arm, Models With Load Hold, See Figure 08-76

1шт.

30

KLV0450

BLOCK ASSY.

Manifold, Replaces KLV0420

1шт.

31

159085A1

PLUG

Incl. 32

1шт.

32

154487A1

O-RING

1шт.

33

862-12100

HEX SOC SCREW,M12 x 100mm, Cl 12.9

4шт.

34

154528A1

O-RING

Replaces KHV0392

1шт.

35

KLV0356

VALVE

See Figure 08-77

1шт.

36

KHJ1349

ADAPTER

Incl. 37

1шт.

37

154523A1

O-RING

1шт.

38

KHJ1361

O-RING,0.07" Thk x 0.926" ID

1шт.

39

KLV0419

TUBE ASSY.,20.8 mm ID x 27.2 mm OD

1шт.

40

862-12090

HEX SOC SCREW,M12 x 90mm, Cl 12.9

4шт.

41

154549A1

O-RING

1шт.

42

151486A1

CLAMP BRACKET

1шт.

43

827-12050

BOLT,Hex, M12 x 1.75 x 50mm, Cl 10.9

1шт.

44

183-112VR

SPRING WASHER

1шт.

45

KLV0386

CLAMP

1шт.

46

MFV5008

CLAMP

1шт.

47

627-12040

BOLT,Hex, M12 x 1.75 x 40mm, Cl 10.9, Full Thd

2шт.

48

183-112VR

SPRING WASHER

2шт.

49

162R012VR

NUT

2шт.

Выбрано товаров: 21