Запчасти Case CX210 (08-35B) - MOUNTING - SWING MOTOR, PIN DAC0721426 - (08) - HYDRAULICS

Схема запчастей Case CX210 - (08-35B) - MOUNTING - SWING MOTOR, PIN DAC0721426 - (08) - HYDRAULICS
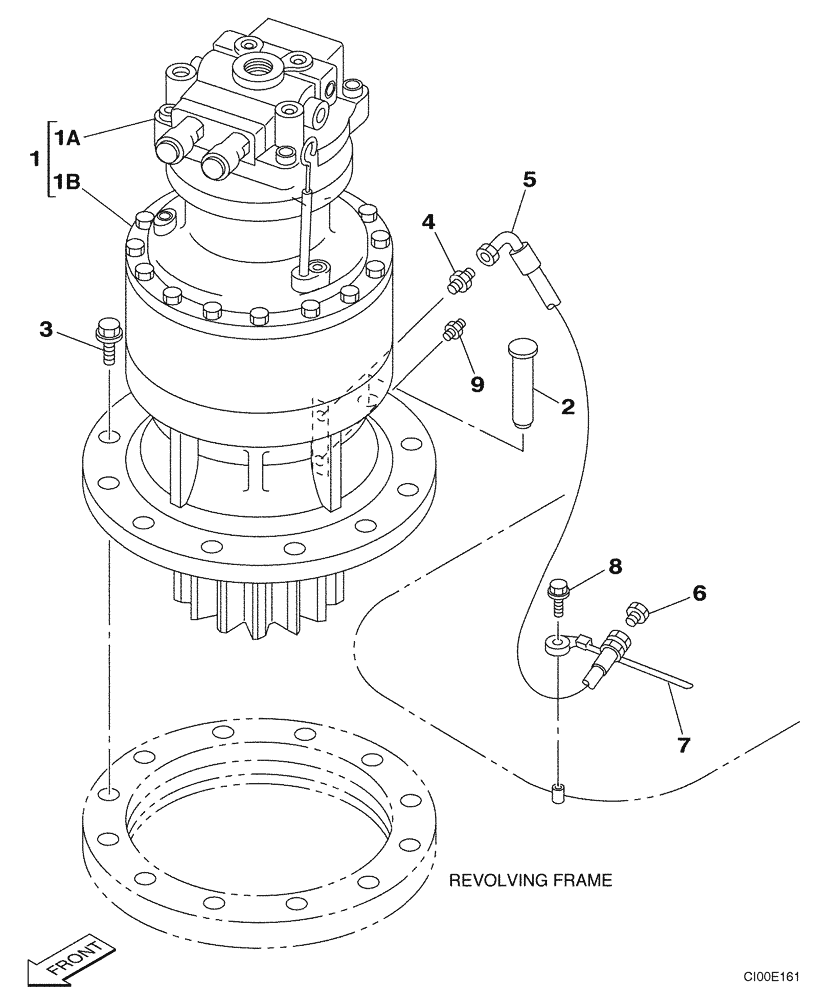
3
2
4
8
1
5
9
6
7
1a
1b
FIT
1:1
100%

Артикул

Название

Примечание

Количество

1

KRC0226

MOTO-REDUCTION GEAR

Incl. 1A, 1B

1шт.

1a

LJ01076

MOTOR, HYDRAULIC

See Figure 08-37B

1шт.

1b

LN00111

REDUCER

See Figure 08-38A

1шт.

LN00111R

REMAN-REDUCTION UNIT

CX210, CX210N ~DAC0721850 & ASN DAC211851 all PIN DAC0721426-, CX210LR PIN DAC0721423

1шт.

LN00111C

CORE-REDUCTION UNIT

Return Number

1шт.

2

158955A1

HEADED PIN

M20 x 75

1шт.

3

166354A1

BOLT,Sems, M20 x 75mm

11шт.

4

153597A1

ADAPTER

1шт.

5

KHJ1193

HYDRAULIC HOSE,9.52 mm ID x 450.00 mm

1шт.

6

KHP0501

PLUG

1шт.

7

KHR2583

CLAMP

1шт.

8

159602A1

BOLT,Sems, Hex, M6 x 16mm

1шт.

9

153630A1

LUBE NIPPLE

1шт.

Выбрано товаров: 13