Запчасти Case CX210 (08-37B) - LJ01076 MOTOR ASSY - SWING (08) - HYDRAULICS

Схема запчастей Case CX210 - (08-37B) - LJ01076 MOTOR ASSY - SWING (08) - HYDRAULICS
44
6
13
15
27
39
36
41
4
49
25
28
46
18
2
50
29
42
9
38
7
33
43
5
24
20
17
22
21
10
23
31
37
26
40
18
3
19
17
34
36
48
32
47
45
14
43
16
35
8
12
30
11
FIT
1:1
100%

Артикул

Название

Примечание

Количество

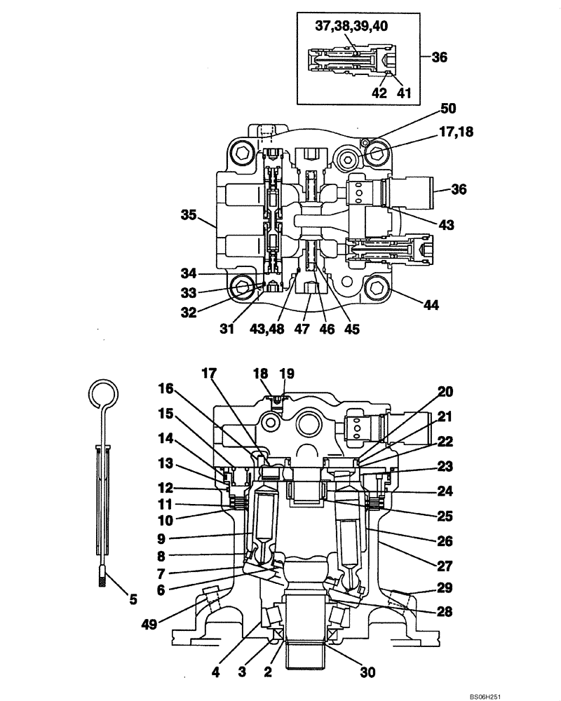
LJ01076

MOTOR, HYDRAULIC

Incl. 1 - 49

1шт.

1

155620A1

SPACER

1шт.

2

155106A1

OIL SEAL

1шт.

3

156133A1

TAPERED BEARING,45mm ID x 100mm OD x 27.25mm W

1шт.

4

156080A1

SPRING

1шт.

5

KRC0172

DIPSTICK

1шт.

6

155616A1

PLATE

1шт.

7

155617A1

PLATE

1шт.

8

NSS

NOT SOLD SEPARAT

Piston

9шт.

9

155619A1

PLATE

3шт.

10

155618A1

PLATE

3шт.

11

155198A1

O-RING

1шт.

12

LPM0116

PISTON

1шт.

13

155199A1

O-RING

2шт.

14

156092A1

SPRING

20шт.

15

LJ00723

PISTON

2шт.

16

LMM0544

DOWEL

2шт.

17

160306A1

CAP

3шт.

18

154467A1

O-RING,10.8mm ID x 2.4mm Width

3шт.

19

LG00337

SPRING

4шт.

20

LE00776

RING

4шт.

21

LB00544

BUSHING

4шт.

22

LR00573

PLATE

1шт.

23

156134A1

NEEDLE BEARING,Needle, 30mm ID x 45mm OD x 20mm W

1шт.

24

155614A1

RING, LOCKING

RING, LOCK

1шт.

25

NSS

NOT SOLD SEPARAT

Block

1шт.

26

NSS

NOT SOLD SEPARAT

Housing

1шт.

27

165745A1

COLLAR

1шт.

28

151033A1

PLUG

1шт.

29

155613A1

RING, LOCKING

RING, LOCK

1шт.

30

LNM0426

VALVE POPPET

2шт.

31

166176A1

BACK-UP RING

2шт.

32

154487A1

O-RING

2шт.

33

154471A1

O-RING

2шт.

34

NSS

NOT SOLD SEPARAT

Cover

1шт.

35

LJ01136

VALVE, PRESSURE RELI

EF Incl. 36 - 41

2шт.

36

LH00347

SHIM

2шт.

37

LH00348

SHIM

2шт.

38

LH00349

SHIM

2шт.

39

LH00350

SHIM

2шт.

40

153982A1

BACK-UP RING

2шт.

41

LE01045

O-RING

2шт.

42

154515A1

O-RING

4шт.

43

863-16060

HEX SOC SCREW,M16 x 60mm, Cl 12.9

4шт.

44

155944A1

PLUNGER

2шт.

45

156079A1

SPRING

2шт.

46

156305A1

CAP

2шт.

47

153991A1

BACK-UP RING

2шт.

48

151026A1

PLUG

1шт.

49

KHJ2277

BUSHING

1шт.

Выбрано товаров: 50