Запчасти Case CX210 (08-61C) - HYDRAULICS, AUXILIARY - DOUBLE ACTING CIRCUIT, HAND OPERATED (Feb 24 2012 9:52AM) (08) - HYDRAULICS

Схема запчастей Case CX210 - (08-61C) - HYDRAULICS, AUXILIARY - DOUBLE ACTING CIRCUIT, HAND OPERATED (Feb 24 2012 9:52AM) (08) - HYDRAULICS
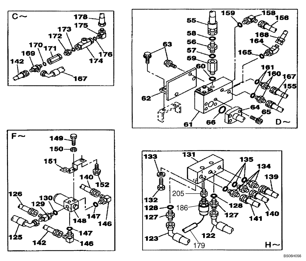
140
151
169
58
168
123
176
149
62
140
122
142
171
148
167
66
141
128
126
160
147
142
156
178
159
63
131
56
57
60
146
129
134
175
125
133
172
186
59
155
150
170
65
167
64
135
147
130
139
152
173
205
61
165
55
132
161
146
174
164
128
127
158
179
127
FIT
1:1
100%

Артикул

Название

Примечание

Количество

55

KRJ5936

HYDRAULIC HOSE,19.00 mm ID x 560.00 mm

1шт.

56

KHJ1348

ADAPTER

Incl. 57

1шт.

57

154503A1

O-RING

1шт.

58

KHJ1360

O-RING,0.07" Thk x 0.739" ID

1шт.

59

159198A1

ADAPTER

Incl. 60

1шт.

60

154503A1

O-RING

1шт.

61

KHJ1340

VALVE

1шт.

62

KRJ5938

BRACKET

1шт.

63

166347A1

BOLT,Sems, M10 x 30mm

5шт.

64

KRJ5940

TUBE ASSY.,20.8 mm ID x 27.2 mm OD

1шт.

65

862-10030

HEX SOC SCREW,M10 x 30mm, Cl 12.9

4шт.

66

154528A1

O-RING

1шт.

122

159009A1

HOSE ASSY.

1шт.

123

162193A1

HOSE ASSY.

1шт.

125

167352A1

HOSE,2500.00 mm

1шт.

126

159235A1

HYDRAULIC HOSE

1шт.

127

152127A1

HYD CONNECTOR,1/4" NPT O-Ring x 1/4" NPT

Incl. 128

2шт.

128

154467A1

O-RING,10.8mm ID x 2.4mm Width

1шт.

129

159497A1

TEE

Incl. 130

1шт.

130

154467A1

O-RING,10.8mm ID x 2.4mm Width

1шт.

131

KHJ17100

VALVE PRESSURE RELIE

Shuttle, Replaces KHJ1655

1шт.

132

827-8055

BOLT,Hex, M8 x 1.25 x 55mm, Cl 10.9

2шт.

133

153081A1

WASHER

2шт.

134

152127A1

HYD CONNECTOR,1/4" NPT O-Ring x 1/4" NPT

Incl. 135

3шт.

135

154467A1

O-RING,10.8mm ID x 2.4mm Width

1шт.

139

151904A1

HOSE,6.3mm ID x 3100mm L

1шт.

140

161272A1

HOSE

1шт.

142

152581A1

HOSE,6.3mm ID x 1900mm L

1шт.

146

150913A1

ELBOW,90 Degree, 1/4" O-Ring x 1/4"

Incl. 147

2шт.

147

154467A1

O-RING,10.8mm ID x 2.4mm Width

1шт.

148

162538A1

VALVE

Solenoid; See Figure 08-64

1шт.

149

627-8012

BOLT,Hex, M8 x 1.25 x 12mm, Cl 10.9, Full Thd

2шт.

150

896-11006

WASHER,6.6mm ID x 12.5mm OD x 2mm Thk

2шт.

151

KRJ5751

BRACKET

1шт.

152

166346A1

BOLT,Sems, M10

2шт.

155

159235A1

HYDRAULIC HOSE

850 mm (KRJ3572)

1шт.

156

159019A1

HOSE ASSY.

1шт.

158

150913A1

ELBOW,90 Degree, 1/4" O-Ring x 1/4"

Incl. 159

1шт.

159

154467A1

O-RING,10.8mm ID x 2.4mm Width

1шт.

160

152127A1

HYD CONNECTOR,1/4" NPT O-Ring x 1/4" NPT

Incl. 121

2шт.

161

154467A1

O-RING,10.8mm ID x 2.4mm Width

1шт.

164

150933A1

ELBOW

Incl. 165

1шт.

165

154467A1

O-RING,10.8mm ID x 2.4mm Width

1шт.

167

164791A1

HOSE ASSY.

1шт.

168

159235A1

HYDRAULIC HOSE

1шт.

169

159497A1

TEE

Incl. 170

1шт.

170

154467A1

O-RING,10.8mm ID x 2.4mm Width

1шт.

171

167853A1

ADAPTER

1шт.

172

162654A1

HYD CONNECTOR

Incl. 173

1шт.

173

154467A1

O-RING,10.8mm ID x 2.4mm Width

1шт.

174

KHJ17090

VALVE PRESSURE RELIE

; Replaces 158186A1

1шт.

175

150913A1

ELBOW,90 Degree, 1/4" O-Ring x 1/4"

Incl. 176

1шт.

176

154467A1

O-RING,10.8mm ID x 2.4mm Width

1шт.

178

167353A1

HOSE,400.00 mm

1шт.

179

KHR3351

HARNESS

1шт.

186

159599A1

PRESSURE SWITCH

No Longer Used, Replaced By Ref. 187

1шт.

187

KHR10790

PRESSURE SWITCH

Not Illustrated

1шт.

205

KHJ11460

ADAPTER

Used With KHR10790 Switch, Ref 187

1шт.

Выбрано товаров: 58