Запчасти Case CX210 (08-61D) - HYDRAULICS, AUXILIARY - DOUBLE ACTING CIRCUIT, HAND OPERATED (08) - HYDRAULICS

Схема запчастей Case CX210 - (08-61D) - HYDRAULICS, AUXILIARY - DOUBLE ACTING CIRCUIT, HAND OPERATED (08) - HYDRAULICS
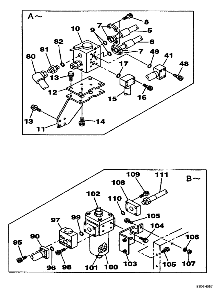
82
106
81
104
98
96
13
49
17
105
97
16
90
6
14
99
5
111
102
7
109
107
8
103
101
108
48
10
7
80
95
9
110
12
41
105
100
11
15
13
FIT
1:1
100%

Артикул

Название

Примечание

Количество

5

KRJ5926

HYDRAULIC HOSE,25.40 mm ID x 725.00 mm

1шт.

6

KRJ5927

HYDRAULIC HOSE,25.40 mm ID x 575.00 mm

1шт.

7

153459A1

FLANGE

Split

4шт.

8

862-10030

HEX SOC SCREW,M10 x 30mm, Cl 12.9

8шт.

9

155211A1

O-RING

2шт.

10

KHJ1609

VALVE

Directional; See Figure(s) 08-61A, 08-66

1шт.

11

KRJ6171

BRACKET

1шт.

12

KRJ6172

BRACKET

1шт.

13

166352A1

BOLT

8шт.

14

166052A1

BOLT

1шт.

15

KRJ6173

TUBE ASSY.,26 mm ID x 34 mm OD

1шт.

16

862-10065

HEX SOC SCREW,M10 x 65mm, Cl 12.9

4шт.

17

154548A1

O-RING

1шт.

41

KRJ6176

TUBE ASSY.,26 mm ID x 34 mm OD

1шт.

48

862-10065

HEX SOC SCREW,M10 x 65mm, Cl 12.9

4шт.

49

154548A1

O-RING

1шт.

80

KRJ6324

TUBE ASSY.

1шт.

81

153001A1

ADAPTER

Incl. 82

1шт.

82

154503A1

O-RING

1шт.

90

KRJ6179

TUBE ASSY.

1шт.

95

862-10030

HEX SOC SCREW,M10 x 30mm, Cl 12.9

4шт.

96

154548A1

O-RING

1шт.

97

KRJ5934

MANIFOLD

1шт.

98

862-10055

HEX SOC SCREW,M10 x 55mm, Cl 12.9

4шт.

99

154625A1

O-RING

1шт.

100

159704A1

FILTER ASSY

Incl. 89, 90; For Additional Components, See Figure 08-70

1шт.

101

159705A1

HYDRAULIC OIL FILTER

1шт.

Valid with CX210N Model

1шт.

102

159706A1

INDICATOR

1шт.

103

KRJ6180

BRACKET

1шт.

104

166351A1

BOLT,Sems, M10 x 20mm

4шт.

105

166352A1

BOLT

3шт.

106

150811A1

WASHER

M12

1шт.

107

829-1412

NUT,M12, Cl 10.9

1шт.

108

KRJ5954

FLANGE

1шт.

109

862-10025

HEX SOC SCREW,M10 x 25mm, Cl 12.9

4шт.

110

154625A1

O-RING

1шт.

111

KRJ12280

HYDRAULIC HOSE,440.00 mm

Replaces KRJ5924

1шт.

Выбрано товаров: 38