Запчасти Case CX210 (09-38A) - ARM, EXCAVATOR, 3,0 METER (9 FT 10 IN) (09) - CHASSIS

Схема запчастей Case CX210 - (09-38A) - ARM, EXCAVATOR, 3,0 METER (9 FT 10 IN) (09) - CHASSIS
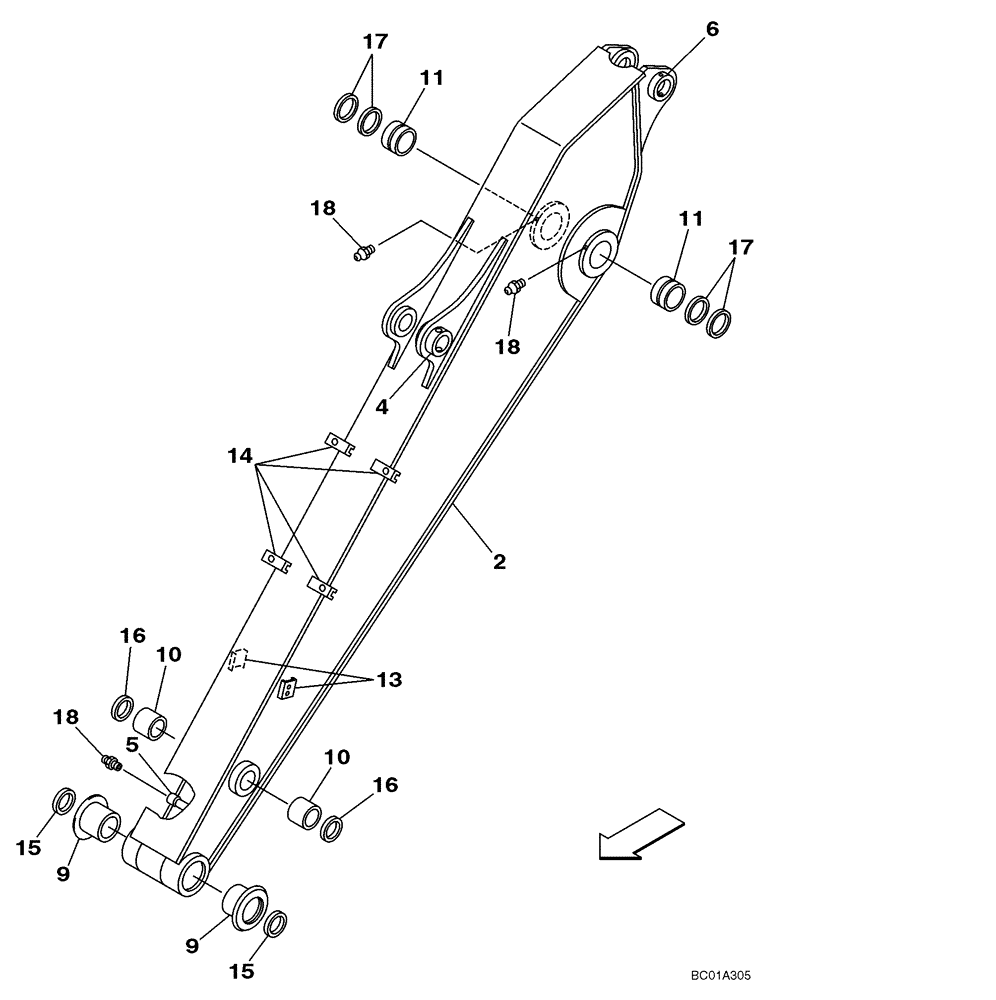
2
9
10
16
18
11
18
6
9
5
11
4
10
18
15
15
17
13
16
17
14
FIT
1:1
100%

Артикул

Название

Примечание

Количество

KRV3252

ARM

Incl. 2 - 14; Order From Machinery Price List

1шт.

2

NSS

NOT SOLD SEPARAT

Arm

1шт.

4

163082A1

COLLAR

1шт.

5

151365A1

FITTING

1шт.

6

159650A1

COLLAR

1шт.

9

KRV2671

BUSHING

2шт.

10

160448A1

BUSHING,75mm ID x 90mm OD x 60mm L

2шт.

11

KRV2397

SELF LUB RING

2шт.

13

153754A1

BAR ASSY.

2шт.

14

KRV2392

BAR

4шт.

15

159647A1

SEAL,80mm ID x 95mm OD x 5mm Thk

2шт.

16

160400A1

SEAL,75mm ID x 90mm OD x 5mm Thk

2шт.

17

159648A1

SEAL,90mm ID x 105mm OD x 5mm Thk

4шт.

18

153630A1

LUBE NIPPLE

3шт.

Выбрано товаров: 14