Запчасти Case CX210 (05-01) - UNDERCARRIAGE (Nov 3 2009 8:16AM) (11) - TRACKS/STEERING

Схема запчастей Case CX210 - (05-01) - UNDERCARRIAGE (Nov 3 2009 8:16AM) (11) - TRACKS/STEERING
3
3
4
4
1
5
2
FIT
1:1
100%

Артикул

Название

Примечание

Количество

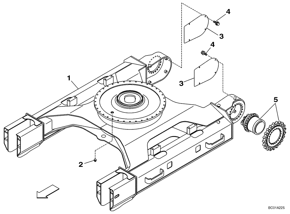
1

KRA1879

FRAME

Undercarriage; Replaces KRA1598

1шт.

2

157221A1

PLUG

1шт.

3

KRA1553

COVER

Motor

2шт.

4

158919A1

CAPTIVE WASHER SCREW,Hex Wshr Hd, M12 x 1.75 x 35mm, Cl 10.9, Spcl

8шт.

5

KRA1426

MOTO-REDUCTION GEAR

Travel; See Figures 06-02, 06-03, 06-04; No Longer Available, For Servcie Order KRA10120

2шт.

5

KRA1860

MOTO-REDUCTION GEAR

Travel; See Figures 06-02, 06-03, 06-04; No Longer Available, For Service Order KRA10120

2шт.

5

KRA10120

MOTO-REDUCTION GEAR

Travel; See Figures 06-02A, 06-03A, 06-04A

2шт.

Выбрано товаров: 7