Качественные детали и логистика
Оригинальные и аналоговые запчасти с доставкой по России, Казахстану и Беларуси
©2022 PartSell ООО "Система" ИНН 2463123282 ОГРН 1212400004838
Центральный офис: г. Красноярск, Академика Киренского, д.87, пом.4
Телефон: 8 (800) 777-65-74 Email: zakaz@partsell.ru
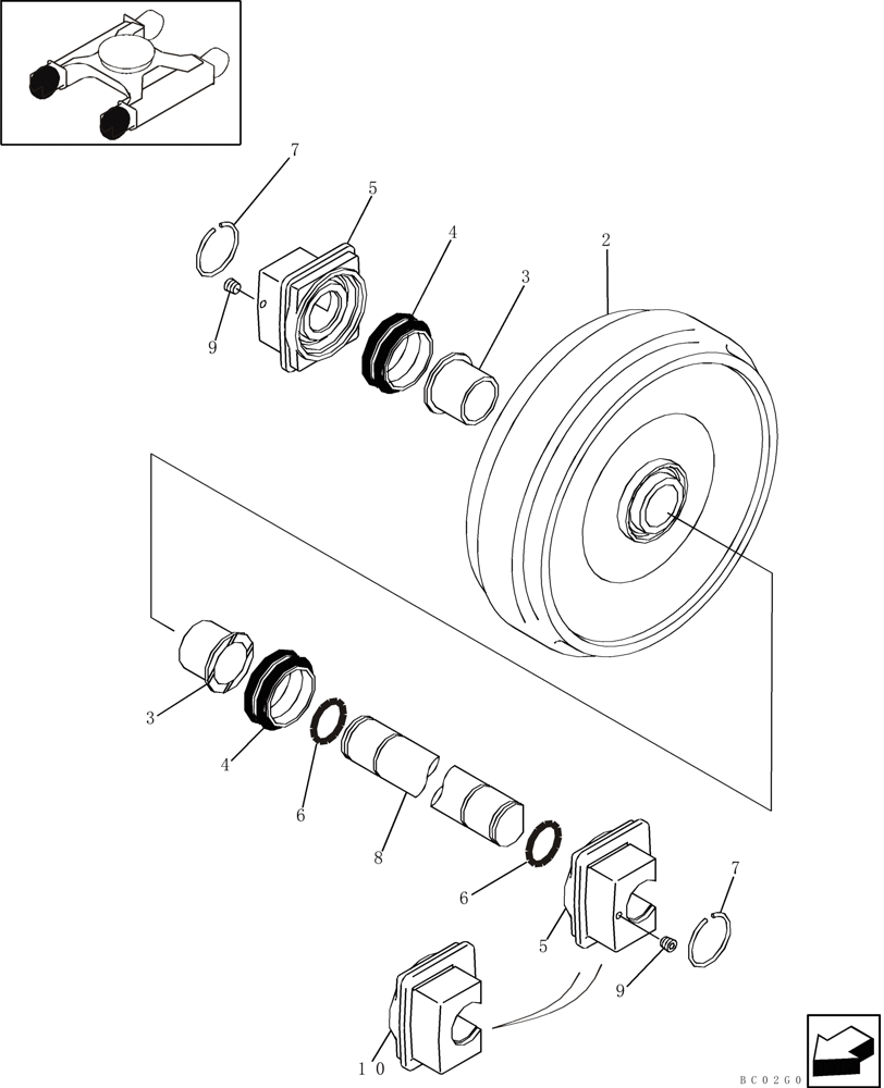
(05-05) - TRACK - IDLER
№
Артикул
Название
Примечание
Количество
KRA1767
IDLER
Pulley; Incl. 2 - 10; Replaces 166099A1
2шт.
2
KRA1768
1шт.
3
160427A1
RING,65mm ID x 92mm OD x 69mm L
4
160397A1
SEAL,95mm ID x 114mm OD x 32mm Thk
5
160426A1
HUB
1-2шт.
6
154639A1
O-RING
7
150597A1
COLLAR
8
160408A1
WHEEL SHAFT
9
150821A1
PLUG
10
KRA1594
Выбрано товаров: 0