Запчасти Case CX210 (05-06) - TRACK - ADJUSTER (11) - TRACKS/STEERING

Схема запчастей Case CX210 - (05-06) - TRACK - ADJUSTER (11) - TRACKS/STEERING
15
12
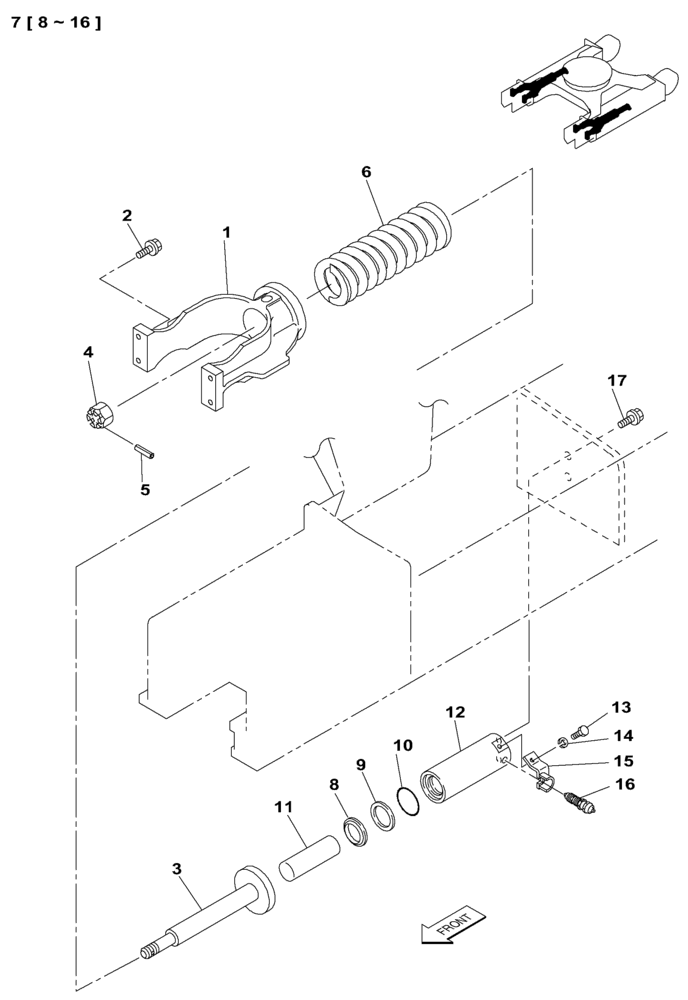
7
6
16
4
1
8
5
9
8
14
10
16
11
2
3
17
13
FIT
1:1
100%

Артикул

Название

Примечание

Количество

1

KLA0152

FORK

2шт.

2

165929A1

BOLT,Sems, M16

8шт.

3

KRA1606

ROD

2шт.

4

283647A1

SLOTTED NUT

2шт.

5

738-1880

LOCK PIN,8mm OD x 80mm L, Slotted

2шт.

6

KRA1776

TENSION SPRING

2шт.

7

KRA1608

TIGHTENER

2шт.

8

150557A1

SEAL,65mm ID x 79mm OD x 11mm Thk

1шт.

9

KHA10090

BACK-UP RING

OD 75mm - ID 65mm. - Thk 1.9mm

1шт.

10

154656A1

O-RING

1шт.

11

KLA0150

JACK PISTON

1шт.

12

KRA1609

HYD CYL SLEEVE

OD 110mm. - ID 65mm. - L=340mm.

1шт.

13

627-10020

BOLT,Hex, M10 x 1.5 x 20mm, Cl 10.9, Full Thd

2шт.

14

892-11010

LOCK WASHER,M10

2шт.

15

KLA0151

BRACKET

1шт.

16

150107A1

LUBE NIPPLE

1шт.

17

165930A1

BOLT,Sems, M16 x 55mm

4шт.

Выбрано товаров: 17